盘点2023年与游戏相关的网络威胁(上)
据Newzoo 2023年报告显示,全球有五分之二(超过 30 亿)的游戏玩家,比去年增加了6.3%,游戏产业持续增长。全球范围内,博彩收入估计达2,423.9亿美元,其中近一半来自亚太地区。到203 2023-11-17 12:3:47 Author: 嘶吼专业版(查看原文) 阅读量:9 收藏

据Newzoo 2023年报告显示,全球有五分之二(超过 30 亿)的游戏玩家,比去年增加了6.3%,游戏产业持续增长。

全球范围内,博彩收入估计达2,423.9亿美元,其中近一半来自亚太地区。到2030年,这一全球总额预计将增加一倍以上,达到5,836.9亿美元。

今年出现了《塞尔达传说:王国之泪》、《霍格沃茨遗产》和《星球大战绝地:幸存者》等新游戏,而老游戏则继续受到粉丝的欢迎。世界各地数百万人仍在《我的世界》中构建新世界,并在多人在线战斗竞技场(例如《远古保卫战》(DOTA 2))和战术射击游戏(例如《反恐精英:全球攻势》(CS:GO))中磨练技能。

随着收入和游戏玩家数量的增加,游戏行业仍然是网络犯罪分子利润丰厚的目标,人们期待已久的流行游戏被用作恶意活动的诱饵。截至2022年,近四分之一的玩家都是未成年人,他们很容易成为攻击者的猎物。在本报告中,我们提供了对2023年游戏相关威胁形势分析。

为了深入了解游戏相关网络安全风险的现状,卡巴斯基对针对游戏社区的普遍威胁进行了广泛的研究。调查涵盖了涉及伪装成游戏应用程序、模组和作弊威胁的攻击,并对在此领域运行的一些最活跃的恶意软件家族进行了特征分析,还分析了使用各种游戏标题和游戏平台作为诱饵的网络钓鱼页面。

我们的分析借鉴了来自卡巴斯基安全网络 (KSN) 的数据,该系统用于处理2022年7月1日至2023年7月1日期间卡巴斯基用户自愿共享的匿名网络威胁相关数据。

卡巴斯基专家研究了与Origin和Steam等流媒体平台上可供下载或准备发布的前14款游戏以及与平台无关游戏相关的威胁,以全面概述当前的威胁。

游戏列表基于互联网上最流行游戏的几个排名。

另外,团队还分析了:移动版和桌面版Minecraft、Roblox、反恐精英:全球攻势 (CS:GO)、绝地求生 (PUBG)、霍格沃茨遗产、古人防御2(DOTA 2)、英雄联盟、魔兽世界、Apex Legends、暗黑破坏神IV、星球大战绝地:幸存者、塞尔达传说、博德之门3和最终幻想XVI。

2022年7月1日至2023年7月1日:

· 去年,卡巴斯基总共检测到4,076,530次与游戏相关的桌面感染尝试,影响了全球 192,456名游戏玩家。

· 最常见的威胁是下载程序(89.70%),其次是广告软件(5.25%)和木马(2.39%)。

· 用作诱饵的最多游戏是《我的世界》,占所有检测的70.29%,其次是《Roblox》(20.37%)、《反恐精英:全球攻势》(4.78%)和《绝地求生》(2.85%)。

· 移动解决方案检测到436,786次与游戏相关的感染尝试,影响了84,539名用户。

· 《我的世界》用户 (90.37%) 是移动恶意软件的最大目标,其次是《绝地求生》 (5.09%)、《罗布乐思》 (3.33%) 和《博德之门》 (0.68%)。

《我的世界》仍然是一个重要的恶意软件目标

从2022年7月1日到2023年7月1日,卡巴斯基的解决方案检测到4,076,530次尝试下载总计30,684个唯一文件,这些文件被伪装成流行游戏或mod、作弊器和其他与游戏有关的软件,并影响了全球192,456名用户。其中大多数文件是名为“下载器”(89.70%)的不受欢迎的软件。

虽然本身并不危险,但这种软件会将各种其他程序,包括恶意软件,下载到设备上。广告软件(5.25%)和木马(2.39%)也是桌面游戏相关威胁的前三名。

2022年7月1日至2023年7月1日以流行游戏为诱饵的十大威胁

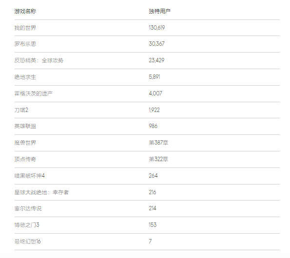
在这4款游戏中,《我的世界》 (70.29%) 仍然是最受网络犯罪分子欢迎的游戏。这款经久不衰的沙盒游戏在2023年拥有超过1.6亿活跃玩家,仍然是世界上最受欢迎的电脑游戏之一。在报告期间,利用这款游戏作为诱饵的威胁影响了全球130,619名用户。

在文件名中提到Roblox的恶意软件和不受欢迎的软件触发了30,367名用户计算机上20.37%的警报,其次是《反恐精英:全球攻势》(4.78%)、《绝地求生》(2.85%)、《霍格沃茨遗产》(0.60%)、《刀塔2》(0.45%)和《英雄联盟》(0.31%)。

2022年7月1日至2023年7月1日按相关威胁检测数量划分的游戏

2022年7月1日至2023年7月1日按受相关威胁影响的用户数量划分的游戏

2022年7月1日至2023年7月1日期间使用名称作为诱饵的独特文件数量的游戏

在智能手机和平板电脑等移动设备上玩游戏已成为一种趋势。由于移动设备提供了在任何地方进行方便和可访问的游戏,因此在全球范围内吸引了大量用户,特别是在美国和亚太地区。据Statista统计,到2027年,移动游戏玩家人数将达到23亿。

尽管我们列举的游戏并非都是成功发布到手机和平板电脑上,有些移动版本甚至在推出不久后或在开发阶段就被关闭,但时不时就会出现第三方手机适配,以及针对这些手机的恶意陷阱。

从2022年7月1日到2023年7月1日,卡巴斯基的检测方案检测到84,539名用户的移动设备进行感染的436,786次尝试。

2022年7月1日至2023年7月1日期间按相关移动恶意软件和有害软件检测数量划分的游戏

《我的世界》玩家再次成为主要目标,90.37% 的攻击与该游戏相关,这些攻击影响了 80,128名游戏玩家。

在相关例子中,印度尼西亚手机游戏玩家成为网络犯罪分子的目标,他们使用Minecraft作为 Trojan.AndroidOS.Pootel.a 的网关,当该应用程序在用户手机上启动时,该木马会在替代应用程序市场中打开 Minecraft 页面。

然后,通过使用恶意代码,它便开始悄悄注册订阅。为了获取完成订阅所需的电话号码,该应用程序使用Google电话号码提示API。然后,它会在一个不可见的窗口中打开订阅激活页面,并将收到的用户号码插入到相应的字段中。之后,它单击“订阅”按钮,从传入的短信中截取确认代码并将其粘贴到确认页面上的必填字段中。

卡巴斯基游戏威胁研究还显示,成为目标的《我的世界》的玩家,大多是来自伊朗的玩家。在这个国家,触发了140,482个警报,影响了54,467名Minecraft玩家。

《PUBG:绝地求生:大逃杀》 是卡巴斯基记录的第二受欢迎的手机游戏。

Roblox (3.33%) 按检测数量排名第三,但按受影响用户数量排名第二。SpyNote间谍木马是针对Roblox粉丝的恶意软件系列之一,它以mod的形式在用户中传播。它具有多种间谍功能,例如记录击键、记录屏幕和播放手机摄像头的视频,它还可以模仿谷歌和 Facebook的官方应用程序来欺骗用户泄露密码。

第四大目标手机游戏是《博德之门》(0.68%),这是一款以被遗忘国度的龙与地下城世界为背景的角色扮演视频游戏系列,该游戏没有官方手机版本。

2022年7月1日至2023年7月1日期间按游戏相关威胁针对的唯一用户数量划分的游戏

参考及来源:https://securelist.com/game-related-threat-report-2023/110960/


文章来源: http://mp.weixin.qq.com/s?__biz=MzI0MDY1MDU4MQ==&mid=2247571208&idx=2&sn=91321cef4d5a0ae89d5412befff0a50d&chksm=e9140732de638e2407a85177fdef2db0c71e0f8005648cbe7cdaf485d6f01ac63646e1019193&scene=0&xtrack=1#rd
如有侵权请联系:admin#unsafe.sh