unSafe.sh - 不安全
我的收藏
今日热榜
公众号文章
导航
Github CVE
Github Tools
编码/解码
文件传输
Twitter Bot
Telegram Bot
Search
Rss
黑夜模式
给高考学子加油
2023-6-7 00:34:1 Author:
浪飒sec(查看原文)
阅读量:33
收藏
浪飒sec
收录于合集
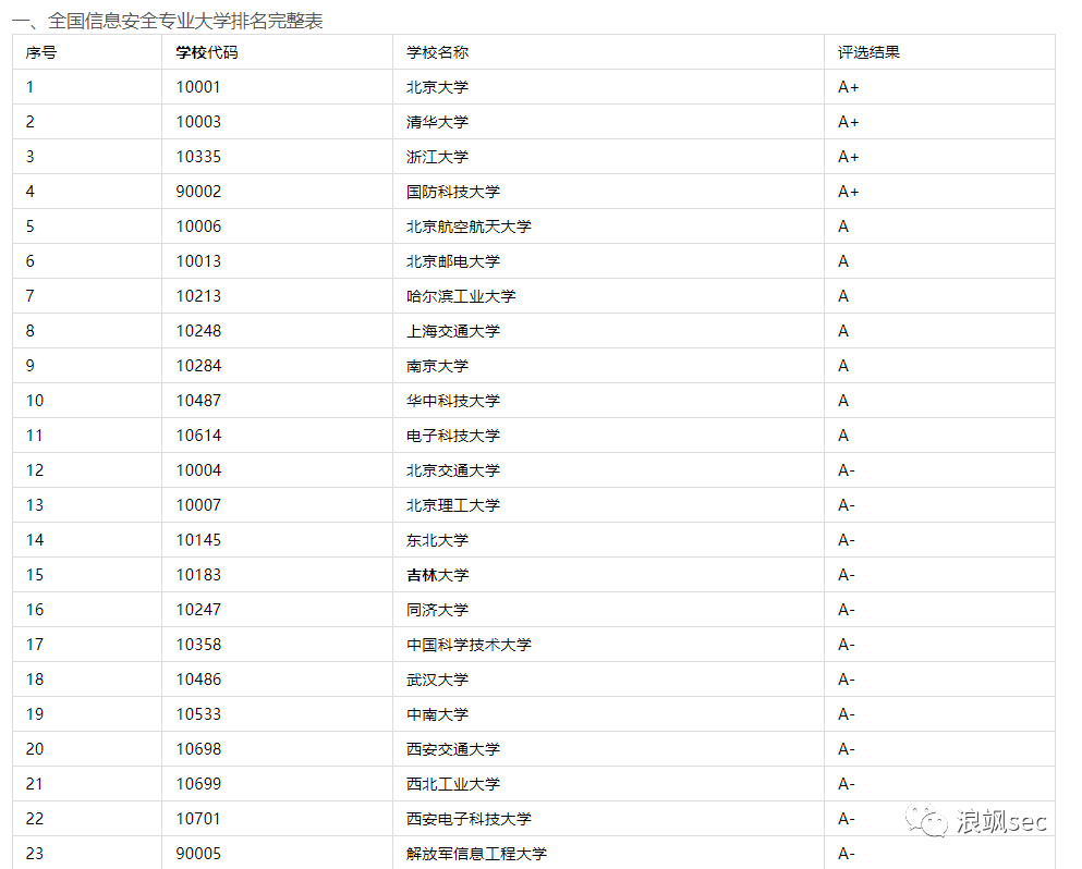
学习信安,就考这听到没?
文章来源: http://mp.weixin.qq.com/s?__biz=MzI1ODM1MjUxMQ==&mid=2247493077&idx=1&sn=6772ab3695f8583510c475bfe20c2046&chksm=ea0bd1c5dd7c58d331d8a9b71d9c618e49b06f635e8749eea17beb98a72d25a386f14cde5dce#rd
如有侵权请联系:admin#unsafe.sh