tvm分析与还原
一tvm简介一句话概括就是腾讯自家的虚拟化加密壳。把腾讯的安全产品拉入 PE 工具,看到区段中有.tvm0那就没跑了。demo 这次还原用到的demo是前段时间游戏安全技术竞赛的决赛附加题(https 2023-6-5 18:0:21 Author: 看雪学苑(查看原文) 阅读量:32 收藏


tvm简介

一句话概括就是腾讯自家的虚拟化加密壳。把腾讯的安全产品拉入 PE 工具,看到区段中有.tvm0那就没跑了。
demo
 
这次还原用到的demo是前段时间游戏安全技术竞赛的决赛附加题(https://gslab.qq.com/html/competition/2023/race-final.htm)一个非常好的demo,驱动基本上全vm了。
 
还要特别感谢这位大佬放出来的脱壳版(https://bbs.kanxue.com/thread-276892.htm),给我节省了许多验证还原效果的时间。


资料

还原脚本项目地址:xx_tvm(https://pan.baidu.com/s/1gjmYQHXELELJwqhb-HJ9iA?pwd=ICEY)
 
文档我也只说明了一些明显的点,还是看代码更加清晰。
 
然后给你的idapython安装以下的库:
import capstone
import keystone
import copy
import unicorn


混淆

1.
1400d302c : not r10 ,R10 <-- ffffffffffffffff
1400d302f : xchg rax, r10 ,RAX <-- ffffffffffffffff ,R10 <-- 0
1400d3031 : mov [rbp+var_s8], r10
1400d3035 : not rax ,RAX <-- 0
1400d3038 : xchg rax, r10
可优化成:
1400d3031 : mov [rbp+var_s8], rax
直接特征识别即可,请参考idapython/TVMunicornTrace.py .tvmFunTask.mabe_1()
 
2.
1400d5b36 : xchg rax, r11 ,RAX <-- 14006024c ,R11 <-- 0
1400d5b38 : mov rax, [rbp+98h]
1400d5b3f : not rax ,RAX <-- fffffffebff9fdb3
1400d9148 : xchg rax, r11 ,RAX <-- 0 ,R11 <-- fffffffebff9fdb3
1400d914a : not r11 ,R11 <-- 14006024c
可优化成:
1400d5b38 : mov r11, [rbp+98h]
直接特征识别即可,请参考idapython/TVMunicornTrace.py .tvmFunTask.mabe_2()
 
3.
1400d9156 : push r10 ,RSP <-- 1500
1400d9158 : lea r10, loc_1400E1D70+2 ,R10 <-- 1400e1d72
1400d915f : lea r10, [r10-0A812h] ,R10 <-- 1400d7560
1400d9166 : jmp r10

1400d7560 : pop r10 ,RSP <-- 1508 ,R10 <-- 0

可优化成:
1400d9156 : jmp 1400d7560

1400d7560 : nop

直接特征识别即可,请参考idapython/TVMunicornTrace.py .tvmFunTask.mabe_3_4()
 
4.(类似 3)
1400d7240 : push r10 ,RSP <-- 1500
1400d7242 : mov r10, 14011A470h ,R10 <-- 14011a470
1400d724c : pushfq ,RSP <-- 14f8
1400d724d : add r10, 0FFFFFFFFFFFBF569h ,R10 <-- 1400d99d9 ,RF <-- 3
1400d7254 : popfq ,RSP <-- 1500 ,RF <-- 12
1400d7255 : jmp r10

1400d99d9 : pop r10 ,RSP <-- 1508 ,R10 <-- 1638

可优化成:
1400d7240 : jmp 1400d99d9

1400d99d9 : nop

直接特征识别即可,请参考idapython/TVMunicornTrace.py .tvmFunTask.mabe_3_4()
 
去混淆前:
 
 
去混淆后:
 
 


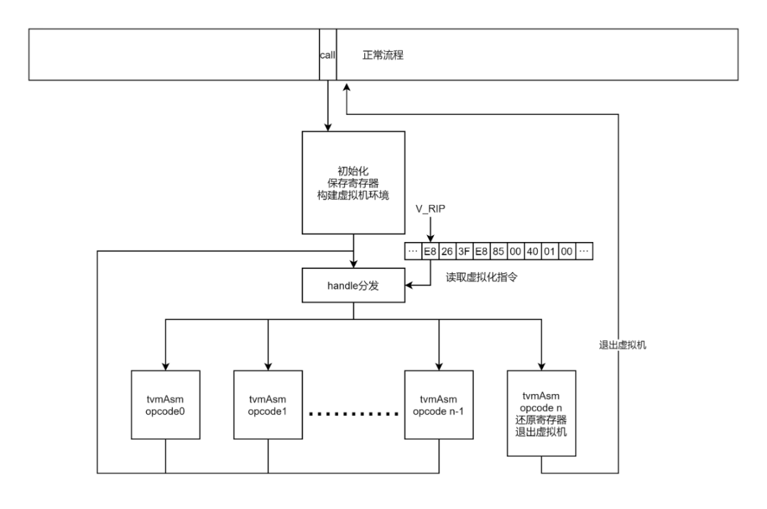
TVM

虚拟机的大致架构如下,非常标准。
实际上tvm有多个handle分发器和多张handleTable,但是它们的作用、内容完全一致,所以我就只画出一个handle分发器,下面也只讲解一张handleTable。

如何进入虚拟机

使用unicorn 跟一次tvm入口到出口,脚本参考:idapython/TVMunicornTrace.py
 
初始rsp设置为 0x1800
 
入口:(已去混淆) 完整文件请查看trace_file/tvm入口到出口 去混淆.log
 
未去混淆的查看trace_file/tvm入口到出口 未去混淆.log
140086efa : call sub_1400085E8 ,RSP <-- 17f8 //这个函数被vm
1400085e8 : jmp sub_1400D2FF4
1400d2ff4 : lea rsp, [rsp-248h] ,RSP <-- 15b0 //开辟虚拟机栈空间
1400d2ffc : mov [rsp+10h], rbp //保存进入虚拟机时的寄存器状态
1400d3001 : mov rbp, rsp ,RBP <-- 15b0
1400d3004 : pushfq ,RSP <-- 15a8
1400d3005 : pop [rbp+0h] ,RSP <-- 15b0
1400d3008 : mov [rbp+78h], r14
1400d3012 : mov [rbp+30h], rdx
1400d3022 : mov [rbp+50h], r9
1400d3031 : mov [rbp+8h], rax
1400d303f : mov [rbp+60h], r11
1400d3043 : jmp short loc_1400D3054
1400d305a : mov [rbp+18h], rbx
1400d305e : mov [rbp+40h], rsp
1400d3062 : mov [rbp+28h], rdi
1400d3066 : mov [rbp+70h], r13
1400d306f : mov [rbp+48h], r8
1400d3078 : mov [rbp+80h], r15
1400d3085 : mov [rbp+58h], r10
1400d308f : mov [rbp+38h], rsi
1400d3093 : mov [rbp+68h], r12
1400d3097 : jmp loc_1400D3145
1400d314c : mov [rbp+20h], rcx
1400d3156 : pushfq ,RSP <-- 15a8
1400d3157 : add qword ptr [rbp+40h], 248h #恢复成原来的栈顶
1400d315f : popfq ,RSP <-- 15b0
1400d3160 : lea r11, [rbp+90h] ,R11 <-- 1640
1400d3167 : push qword ptr [rbp+8] ,RSP <-- 15a8
1400d316a : pop qword ptr [r11] ,RSP <-- 15b0
1400d316d : push qword ptr [rbp+18h] ,RSP <-- 15a8
1400d3170 : pop qword ptr [r11+8] ,RSP <-- 15b0
1400d3174 : push qword ptr [rbp+20h] ,RSP <-- 15a8
1400d3177 : pop qword ptr [r11+10h] ,RSP <-- 15b0
1400d317b : push qword ptr [rbp+30h] ,RSP <-- 15a8
1400d317e : pop qword ptr [r11+18h] ,RSP <-- 15b0
1400d3182 : push qword ptr [rbp+40h] ,RSP <-- 15a8
1400d3185 : pop qword ptr [r11+20h] ,RSP <-- 15b0
1400d3189 : push qword ptr [rbp+10h] ,RSP <-- 15a8
1400d318c : jmp loc_1400D30DC
1400d30dd : pop qword ptr [r11+28h] ,RSP <-- 15b0
1400d30e1 : push qword ptr [rbp+38h] ,RSP <-- 15a8
1400d30e4 : pop qword ptr [r11+30h] ,RSP <-- 15b0
1400d30e8 : push qword ptr [rbp+28h] ,RSP <-- 15a8
1400d30eb : pop qword ptr [r11+38h] ,RSP <-- 15b0
1400d30ef : push qword ptr [rbp+48h] ,RSP <-- 15a8
1400d30f2 : pop qword ptr [r11+40h] ,RSP <-- 15b0
1400d30f6 : push qword ptr [rbp+50h] ,RSP <-- 15a8
1400d30f9 : pop qword ptr [r11+48h] ,RSP <-- 15b0
1400d30fd : push qword ptr [rbp+58h] ,RSP <-- 15a8
1400d3100 : pop qword ptr [r11+50h] ,RSP <-- 15b0
1400d3104 : push qword ptr [rbp+60h] ,RSP <-- 15a8
1400d3107 : pop qword ptr [r11+58h] ,RSP <-- 15b0
1400d310b : push qword ptr [rbp+68h] ,RSP <-- 15a8
1400d310e : pop qword ptr [r11+60h] ,RSP <-- 15b0
1400d3112 : push qword ptr [rbp+70h] ,RSP <-- 15a8
1400d3115 : pop qword ptr [r11+68h] ,RSP <-- 15b0
1400d3119 : push qword ptr [rbp+78h] ,RSP <-- 15a8
1400d311c : pop qword ptr [r11+70h] ,RSP <-- 15b0
1400d3120 : push qword ptr [rbp+80h] ,RSP <-- 15a8
1400d3126 : pop qword ptr [r11+78h] ,RSP <-- 15b0
1400d312a : push qword ptr [rbp+0] ,RSP <-- 15a8
1400d312d : jmp loc_1400D30A8
1400d30aa : pop qword ptr [r11+80h] ,RSP <-- 15b0
1400d30b1 : lea r11, byte_14006024B+1 ,R11 <-- 14006024c
1400d30b8 : lea r10, [rbp+88h] ,R10 <-- 1638
1400d30bf : lea rsp, [rsp-8] ,RSP <-- 15a8
1400d30c4 : mov [rsp], r10
1400d30c8 : lea rsp, [rsp-8] ,RSP <-- 15a0
1400d30cd : mov [rsp], r11
1400d30d1 : call sub_1400D5B02 ,RSP <-- 1598
1400d5b02 : lea rsp, [rsp-8] ,RSP <-- 1590
1400d5b07 : mov [rsp+8+var_8], rbx
1400d5b0b : lea rsp, [rsp-8] ,RSP <-- 1588
1400d5b10 : mov [rsp+10h+var_10], rsi
1400d5b14 : lea rsp, [rsp-8] ,RSP <-- 1580
1400d5b19 : mov [rsp+18h+var_18], rdi
1400d5b1d : lea rsp, [rsp-8] ,RSP <-- 1578
1400d5b22 : mov [rsp+20h+var_20], rbp
1400d5b26 : lea rsp, [rsp-8] ,RSP <-- 1570
1400d5b2b : mov [rsp+28h+var_28], r15
1400d5b2f : sub rsp, 68h ,RSP <-- 1508 ,RF <-- 12
1400d5b33 : mov rbp, rsp ,RBP <-- 1508
1400d5b38 : mov r11, [rbp+98h] ,R11 <-- V_RIP
1400d5b42 : jmp loc_1400D9146
1400d914f : mov r10, [rbp+0A0h] ,R10 <-- V_REG_p
1400d9156 : jmp loc_1400D7560
1400d756a : call loc_1400DA21F ,RSP <-- 1500
1400da21f : lea rsp, [rsp+8] ,RSP <-- 1508
1400da224 : lea r9, loc_1400E47B0 ,R9 <-- 1400e47b0
1400da22e : jmp loc_1400D8689
1400d868e : mov [rbp+0], r9
1400d8695 : jmp loc_1400DB455
1400db45f : mov [rbp+8], r11
1400d2ffc1400d315f,tvm第一次保存进入虚拟机前的寄存器状态:
rsp = rbp = 15b0
[15b0](rbp+0) rflag
[15b8](rbp+8) rax
[15c0](rbp+10) rbp (原来的栈底)
[15c8](rbp+18) rbx
[15d0](rbp+20) rcx
[15d8](rbp+28) rdi
[15e0](rbp+30) rdx
[15e8](rbp+38) rsi
[15f0](rbp+40) rsp (原来的栈顶)
[15f8](rbp+48) r8
[1600](rbp+50) r9
[1608](rbp+58) r10
[1610](rbp+60) r11
[1618](rbp+68) r12
[1620](rbp+70) r13
[1628](rbp+78) r14
[1630](rbp+80) r15
接下来是第二次保存进入虚拟机前的寄存器状态:
1400d3160 : lea r11, [rbp+90h] ,R11 <-- 1640 #接着往栈上保存原始寄存器状态
1400d31601400d30aa,保存状态如下:
[1640](r11+0) rax
[1648](r11+8) rbx
[1650](r11+10) rcx
[1658](r11+18) rdx
[1660](r11+20) rsp
[1668](r11+28) rbp
[1670](r11+30) rsi
[1678](r11+38) rdi
[1680](r11+40) r8
[1688](r11+48) r9
[1690](r11+50) r10
[1698](r11+58) r11
[16a0](r11+60) r12
[16a8](r11+68) r13
[16b0](r11+70) r14
[16b8](r11+78) r15
[16c0](r11+80) rflag
接下来保存 虚拟机指令起始点和虚拟机寄存器的起始指针。
1400d30b1 : lea r11, byte_14006024B+1 ,R11 <-- 14006024c //这个是V_RIP (即虚拟指令起始点)
1400d30b8 : lea r10, [rbp+88h] ,R10 <-- 1638 //这个是 V_REG_P
1400d30bf : lea rsp, [rsp-8] ,RSP <-- 15a8
1400d30c4 : mov [rsp], r10
1400d30c8 : lea rsp, [rsp-8] ,RSP <-- 15a0
1400d30cd : mov [rsp], r11
结构如下:
[15a0] V_RIP 虚拟指令起始点
[15a8] V_REG_P 1638(虚拟机寄存器)
14006024c这是当前函数的虚拟指令起始点,可以先记住,后面就知道为什么我这么说了。
 
 
接下来进入:
1400d30d1 : call sub_1400D5B02 ,RSP <-- 1598
进call,return地址入栈:
[1598] = return add(call sub_1400D5B02 下一行的地址 是int3)
这个函数,它也会保存一下寄存器状态,但是没啥用:
1400d5b02 : lea rsp, [rsp-8] ,RSP <-- 1590
1400d5b07 : mov [rsp+8+var_8], rbx
1400d5b0b : lea rsp, [rsp-8] ,RSP <-- 1588
1400d5b10 : mov [rsp+10h+var_10], rsi
1400d5b14 : lea rsp, [rsp-8] ,RSP <-- 1580
1400d5b19 : mov [rsp+18h+var_18], rdi
1400d5b1d : lea rsp, [rsp-8] ,RSP <-- 1578
1400d5b22 : mov [rsp+20h+var_20], rbp
1400d5b26 : lea rsp, [rsp-8] ,RSP <-- 1570
1400d5b2b : mov [rsp+28h+var_28], r15
保存的状态如下:
[1570] r15 rbp = 15b0
[1578] rbp
[1580] rdi
[1588] rsi
[1590] rbx
然后会把V_RIP换个位置;
1400d5b2f : sub rsp, 68h ,RSP <-- 1508 ,RF <-- 12
1400d5b33 : mov rbp, rsp ,RBP <-- 1508
1400d5b38 : mov r11, [rbp+98h] ,R11 <-- V_RIP
1400d5b42 : jmp loc_1400D9146
1400d914f : mov r10, [rbp+0A0h] ,R10 <-- V_REG_p
1400d9156 : jmp loc_1400D7560
1400d756a : call loc_1400DA21F ,RSP <-- 1500
1400da21f : lea rsp, [rsp+8] ,RSP <-- 1508 //进call又rsp+8,假装是jmp
1400da224 : lea r9, loc_1400E47B0 ,R9 <-- 1400e47b0 //这是int3 指令的地址
1400da22e : jmp loc_1400D8689
1400d868e : mov [rbp+0], r9
1400d8695 : jmp loc_1400DB455
1400db45f : mov [rbp+8], r11 V_RIP 放到 [1510]
接下来就开始处理虚拟指令了。先把栈空间的格式整理一下:(这个地方非常重要)
虚拟机内RBP = RSP = 1508 ,R10 = V_REG_P
[1508] int3指令指针
[1510] V_RIP //当前执行到的位置
.....

[1570] r15 rbp = 15b0
[1578] rbp
[1580] rdi
[1588] rsi
[1590] rbx
[1598] = return add(sub_1400D5B02 下一行的地址 是int3)

[15a0] V_RIP //虚拟指令起始点,这是不会变的
[15a8] V_REG_P //1638(虚拟机寄存器),这是不会变的

[15b0](rbp+0) rflag //这里以下是进入虚拟机前的寄存器状态
[15b8](rbp+8) rax
[15c0](rbp+10) rbp (原来的栈底)
[15c8](rbp+18) rbx
[15d0](rbp+20) rcx
[15d8](rbp+28) rdi
[15e0](rbp+30) rdx
[15e8](rbp+38) rsi
[15f0](rbp+40) rsp (原来的栈顶)
[15f8](rbp+48) r8
[1600](rbp+50) r9
[1608](rbp+58) r10
[1610](rbp+60) r11
[1618](rbp+68) r12
[1620](rbp+70) r13
[1628](rbp+78) r14
[1630](rbp+80) r15

[1638] UnKnow V_REG_P = r10 = 1638 //虚拟机的虚拟寄存器从 1638 开始往下都是
[1640](r11+0) rax //这里以下是进入虚拟机前的寄存器状态
[1648](r11+8) rbx
[1650](r11+10) rcx
[1658](r11+18) rdx
[1660](r11+20) rsp
[1668](r11+28) rbp
[1670](r11+30) rsi
[1678](r11+38) rdi
[1680](r11+40) r8
[1688](r11+48) r9
[1690](r11+50) r10
[1698](r11+58) r11
[16a0](r11+60) r12
[16a8](r11+68) r13
[16b0](r11+70) r14
[16b8](r11+78) r15
[16c0](r11+80) rflag

其实只需要记住 R10放着V_REG_P 和 [rbp+8] 放着 V_RIP 。

handle分发

这是一段 tvmhandle的分发(tvmopcode的处理方式):
1400d7234 : mov r9, [rbp+8] ,R9 <-- 14006024c
1400d7240 : jmp loc_1400D99D9
1400d99db : mov r8b, [r9] ,R8 <-- e8
1400d99de : xor r8b, 5Dh ,R8 <-- b5 ,RF <-- 82
1400d99e2 : mov rdx, 25E9ECA9BDE22AEAh ,RDX <-- 25e9eca9bde22aea
1400d99ec : not rdx ,RDX <-- da161356421dd515
1400d99ef : lea rdx, [r9+rdx] ,RDX <-- da1613578223d761
1400d99f3 : jmp loc_1400D86A6
1400d86a8 : mov r9, 0DA161356421DD513h ,R9 <-- da161356421dd513
1400d86b2 : not r9 ,R9 <-- 25e9eca9bde22aec
1400d86b5 : lea r9, [rdx+r9] ,R9 <-- 14006024d
1400d86bf : mov [rbp+8], r9
1400d86c9 : movzx r8, r8b
1400d86cd : sub r8, 1 ,R8 <-- b4 ,RF <-- 6
1400d86d1 : jmp loc_1400D7E10
1400d7e11 : cmp r8, 0C8h ,RF <-- 93
1400d7e18 : jnb loc_1400D9954
1400d7e1e : lea r9, word_1400DB5AA ,R9 <-- 1400db5aa
1400d7e25 : mov r8, [r9+r8*8] ,R8 <-- d60f2
1400d7e29 : lea r9, cs:140000000h ,R9 <-- 140000000
1400d7e30 : jmp loc_1400D6558
1400d6559 : add r8, r9 ,R8 <-- 1400d60f2 ,RF <-- 2
1400d655c : jmp r8 //进入handle
[rbp + 8] 是 V_RIP,放入r9,然后从[R9] 取出 tvmopcode 放入r8b 然后异或 0x5D,然后 r9 +1(上面是混淆过的,实际效果就是 + 1 )。
 
R8b - 1 如果大于0xC8,就跳转到1400D9954,说明这是未知的tvmopcode,出错。1400D9954是int3指令。
 
然后 handleTable 放入 R9,取表项 [R9 + R8 *8],即为这个handle的偏移,加上基址0x140000000,即为这个handle 的实际处理地址:1400d60f2,通过 jmp r8 跳转过去。
 
(可以看到 取得第一个 tvmopcode 是 0xe8 ,和上面图中的是一样的)
小总结:
1.从 tvmopcode --> handle 的方式:
handleTableBase = 0x1400db5aa
Dllbase = 0x140000000
handle = Dllbase + qword[(tvmopcode^0x5d - 1)*8 + handleTableBase]
注意,tvm有多张handleTable,但是里面的内容都是一样的。所以拿到一张表就行了。
2.handle的个数:
 
tvmopcode^0x5d - 1 < 0xC8可以推测一共有 0xc8 ( 0~0xc7 )个 tvmopcode,例:
handleTable的第 0x00 项: tvmopcode = (0x00 + 1) ^ 0x5d = 0x5c
......
handleTable的第 0x3c 项: tvmopcode = (0x3c + 1) ^ 0x5d = 0x60
......
handleTable的第 0xc7 项: tvmopcode = (0xc7 + 1) ^ 0x5d = 0x95

导出所有handle

现在我们知道,tvm的handleTable有0xc8个有效项,我们就可以遍历handleTable,并且静态跟踪出handle。看它是如何处理的:
 
导出handle代码(idapython/TVMHandleOut.py
 
补充:虽然handle有0xc8个有效项,但是很多是重复的,是留作拓展用的,真正有效的handle就 80个:
 
左边 是 handle处理地址,右边是 tvmopcode。
1400d9954 : 9a 9b 98 99 9c 9d e2 e3 e0 e1 e6 e7 e4 eb ec ed f2 f3 f0 f1 f6 f7 f5 fa fb f9 fe ff c2 c0 c1 c6 c7 c4 c5 c8 ce cf cc cd db d8 de df dc dd 23 26 27 24 2a 28 2e 2c 2d 32 33 30 31 36 37 34 35 3a 3b 38 39 3e 3f 3d 02 03 00 07 04 05 0a 0b 08 0e 0f 0d 12 13 10 17 14 15 1a 1b 18 1e 1f 1c 63 61 66 67 64 6b 69 6f 6c 71 76 77 74 7b 79 7e 7f 7c 53 50 55 5b 58 59 5e 5f 5c
1400d8eb1 : 5a
1400d5b5a : 54
1400d5cd8 : 57
1400db3d3 : 56
1400d761b : 51
1400da3e5 : 52
1400dabb0 : 4d
1400d8196 : 4c
1400d6c8c : 4f
1400d82fa : 4e
1400d6e7d : 49
1400d7172 : 48
1400d9374 : 4b
1400daa8e : 4a
1400db0f9 : 45
1400dae51 : 44
1400d8be2 : 47
1400d946b : 46
1400d995a : 41
1400daf90 : 40
1400d7a8a : 43
1400d5e10 : 42
1400d7258 : 7d
1400daecb : 78
1400d5d02 : 7a
1400d974c : 75
1400d7f26 : 70
1400d8e1b : 73
1400d8dbf : 72
1400d8362 : 6d
1400d6fc9 : 6e
1400d7c1f : 68
1400d63cd : 6a
1400d9abb : 65
1400d8431 : 60
1400d7797 : 62
1400da161 : 1d
1400d7313 : 19
1400d92b0 : 16
1400d9c5c : 11
1400dab1e : 0c
1400d86e2 : 09
1400d7352 : 06
1400dad5e : 01
1400d9524 : 3c
1400dad2c : 2f
1400d8b8d : 29
1400d7d39 : 2b
1400d8f7b : 25
1400d696f : 21
1400d71f5 : 20
1400d71b3 : 22
1400d770e : d9
1400da48c : da
1400d74d2 : d5
1400d70ee : d4
1400d95ad : d7
1400d6f6c : d6
1400d84d0 : d1
1400da357 : d0
1400d78f9 : d3
1400d7998 : d2
1400d8561 : c9
1400d624c : cb
1400d9169 : ca
1400d64ac : c3
1400d5c7b : fd
1400d9dd5 : fc
1400d6913 : f8
1400dafcf : f4
1400d7bc7 : ef
1400d7fc4 : ee
1400d9446 : e9
1400d60f2 : e8
1400d69e8 : ea
1400d9584 : e5
1400da10c : 9f
1400d8e89 : 9e
1400d8cdd : 95
并在在 当前文件夹/handleout 文件夹内,输出全部handle静态跟踪(运行脚本的同时会对handle去简单的混淆)
:(刚好80个不相同的handle,文件名用 tvmopcode)
 
 
一共有80个不同功能的tvmopcode,为节省篇幅,我这里挑一个常见的讲解,全部的handle分析,其余的全部放在(handle_out/)。
 
(那个特别多的是int3,应该是预留以后更新用的)
 
我静态跟踪handle是以 jnb 为结尾的(就是判断是否大于0xc8后的jnb),所以跟踪文件后半段有一些不用看。
0xe8 p_a b_ULONG64

0x3F26

*(PULONG64)p_a = b_ULONG64;

v_mov_iregll_ll
----------------------------------------//虚线以上是分析出来的

0x1400d60f5 : mov r9, [rbp+8]
0x1400d6102 : mov r8w, [r9] 这里取2字节 (取虚拟寄存器都是取2字节)
0x1400d6106 : xor r8w, 3F26h 异或 3F26(不同的handl异或的值不同) 得到 a,
0x1400d610c : mov rdx, 0F84A86395161A270h 所以就是取虚拟机寄存器 V_REG_P + a
0x1400d6116 : not rdx
0x1400d6119 : jmp loc_1400D9077
0x1400d9078 : lea rdx, [r10+rdx]
0x1400d907c : movzx r8, r8w
0x1400d9080 : mov rcx, 7B579C6AE9E5D8Eh
0x1400d908a : not rcx
0x1400d908d : add r8, rcx
0x1400d9090 : lea r8, [rdx+r8] p_a = r8 = V_REG_P + a
0x1400d9094 : lea r9, [r9+2] V_RIP+=2
0x1400d909b : mov rdx, [r9] b_ULONG64 从tvm指令表中取8字节
0x1400d909e : jmp loc_1400DA2DD
0x1400da2ed : mov [r8], rdx 放入 [r8],即放入 p_a
0x1400da2f0 : jmp loc_1400DA9AC
0x1400da9b4 : lea r9, [r9+8] V_RIP+=8
0x1400da9be : mov [rbp+8], r9 V_RIP放回[rbp+8]
0x1400da9c8 : jmp loc_1400DAC79
0x1400dac7c : mov r9, [rbp+8] 这里以下属于下一个handle分发,不用看
0x1400dac89 : mov r8b, [r9]
0x1400dac8c : xor r8b, 5Dh
0x1400dac90 : mov rdx, 0D3676A56DAFF3C65h
0x1400dac9a : jmp loc_1400D7763
0x1400d7764 : not rdx
0x1400d7767 : lea rdx, [r9+rdx]
0x1400d776b : mov r9, 2C9895A92500C398h
0x1400d7775 : not r9
0x1400d7778 : lea r9, [rdx+r9]
0x1400d777f : jmp loc_1400D5B91
0x1400d5b95 : mov [rbp+8], r9
0x1400d5b9e : movzx r8, r8b
0x1400d5ba2 : sub r8, 1; switch 200 cases
0x1400d5ba6 : jmp loc_1400D98A8
0x1400d98aa : cmp r8, 0C8h
0x1400d98b1 : jnb def_1400D655C;

我对 tvmAsm的命名规则:
v_opcode_op0_op1_op2_....._opn

例如:
v_mov_iregw_iregw :
从虚拟寄存器op1 取 2字节 放入虚拟寄存器op0
w 表示 USHORT

v_mov_ipreg_iregl :
从虚拟机寄存器op1 取4字节,放入以虚拟机寄存器op0作为地址的空间,有点类似与:
mov [reg],reg

v_mov_iregb_b :
从tvm指令表中取1字节放入虚拟机寄存器op0中,类似于Asm中的立即数赋值:
mov reg,0xff

v_and_oregl_iregl_iregl_oregl:(i 就是 in ,o 就是 out 的意思)
取虚拟寄存器op1 和 虚拟寄存器op2进行与运算,并将结果放入虚拟寄存器op0,与运算后的 rflag 放入 虚拟寄存器op3
l 表示 ULONG32

v_cmp_iregll_iregll_oregl:
即为 cmp 虚拟寄存器op0,虚拟寄存器op1 ,cmp后的rflag 放入 虚拟寄存器op2
ll 表示 ULONG64

我这里直接将全部tvmAsm展示出来:(参考idapython/deTvm.py . tvmHandleTableInit()
TVMTABEL.append("v_sar_oregll_iregll_iregb_oregl",0x01,0xF8BE)
TVMTABEL.append("v_or_oregll_iregll_iregll_oregl",0x1D,0x4AA7)
TVMTABEL.append("v_mov_iregll_iregl",0x2B,0xBF3E)
TVMTABEL.append("v_movzx_iregl_iregb",0x2F,0x7EE9)
TVMTABEL.append("v_ror_oregb_iregb_iregb_oregl",0x3C,0xF8E1)
TVMTABEL.append("v_mov_iregl_iregl",0x4A,0x564B)
TVMTABEL.append("v_mov_iregw_iregw",0x4B,0xD916)
TVMTABEL.append("v_add_oregb_iregb_iregb_oregl",0x4C,0xDD9D)
TVMTABEL.append("v_add_oregll_iregll_iregll",0x4D,0x477D)
TVMTABEL.append("v_add_oregl_iregl_iregl_oregl",0x4E,0xA9C7)
TVMTABEL.append("v_add_oregw_iregw_iregw_oregl",0x4F,0x82BC)
TVMTABEL.append("v_sub_oregl_iregl_iregl_oregl",0x5A,0xC198)
TVMTABEL.append("v_sar_oregl_iregl_iregb_oregl",0x06,0x8374)
TVMTABEL.append("v_and_oregl_iregl_iregl_oregl",0x6A,0x5CF0)
TVMTABEL.append("v_and_oregll_iregll_iregll_oregl",0x6D,0xD9B1)
TVMTABEL.append("v_and_oregl_iregl_iregl",0x6E,0xA1CE)
TVMTABEL.append("v_xor_oregl_iregl_iregl_oregl",0x7A,0xD8ED)
TVMTABEL.append("v_mov_ipreg_iregll",0x7D,0xD878)
TVMTABEL.append("v_shr_oregll_iregll_iregb_oregl",0x09,0x9D87)
TVMTABEL.append("v_int3",[0x9a,0x9b,0x98,0x99,0x9c,0x9d,0xe2,0xe3,0xe0,0xe1,0xe6,0xe7,0xe4,0xeb,0xec,0xed,0xf2,0xf3,0xf0,0xf1,0xf6,0xf7,0xf5,0xfa,0xfb,0xf9,0xfe,0xff,0xc2,0xc0,0xc1,0xc6,0xc7,0xc4,0xc5,0xc8,0xce,0xcf,0xcc,0xcd,0xdb,0xd8,0xde,0xdf,0xdc,0xdd,0x23,0x26,0x27,0x24,0x2a,0x28,0x2e,0x2c,0x2d,0x32,0x33,0x30,0x31,0x36,0x37,0x34,0x35,0x3a,0x3b,0x38,0x39,0x3e,0x3f,0x3d,0x2,0x3,0x0,0x7,0x4,0x5,0xa,0xb,0x8,0xe,0xf,0xd,0x12,0x13,0x10,0x17,0x14,0x15,0x1a,0x1b,0x18,0x1e,0x1f,0x1c,0x63,0x61,0x66,0x67,0x64,0x6b,0x69,0x6f,0x6c,0x71,0x76,0x77,0x74,0x7b,0x79,0x7e,0x7f,0x7c,0x53,0x50,0x55,0x5b,0x58,0x59,0x5e,0x5f,0x5c],0x0000)
TVMTABEL.append("v_jmp_iregxR11",0x9E,0x0AD7)
TVMTABEL.append("v_jmp_iregxR10",0x9F,0x2E72)
TVMTABEL.append("v_shl_oregll_iregll_iregb_oregl",0x11,0x5403)
TVMTABEL.append("v_shl_oregl_iregl_iregb_oregl",0x16,0xEEF7)
TVMTABEL.append("v_not_oregll_iregll",0x19,0x1400)
TVMTABEL.append("v_setz_oregb_iregl",0x20,0x0D45)
TVMTABEL.append("v_movsxd_iregll_iregl",0x21,0x8BC8)
TVMTABEL.append("v_setR8d_iregl",0x22,0x77D7)
TVMTABEL.append("v_movsx_iregl_iregb",0x25,0xD8E4)
TVMTABEL.append("v_movzx_iregl_iregw",0x29,0xF10A)
TVMTABEL.append("v_mov_ipreg_iregb",0x40,0xE304)
TVMTABEL.append("v_mov_iregll_ipreg",0x41,0xE229)
TVMTABEL.append("v_mov_ipreg_iregl",0x42,0x5431)
TVMTABEL.append("v_mov_ipreg_iregw",0x43,0x02CB)
TVMTABEL.append("v_mov_iregb_ipreg",0x44,0xBE8C)
TVMTABEL.append("v_mov_iregll_iregll",0x45,0x58FB)
TVMTABEL.append("v_mov_iregl_ipreg",0x46,0x10BC)
TVMTABEL.append("v_mov_iregw_ipreg",0x47,0x6F62)
TVMTABEL.append("v_mov_iregb_iregb",0x48,0xCFFE)
TVMTABEL.append("v_add_oregll_iregll_iregll_oregl",0x49,0x41AA)
TVMTABEL.append("v_not_oregll_iregll",0x51,0xDB42)
TVMTABEL.append("v_add_oregl_iregl_iregl",0x52,0x77C6)
TVMTABEL.append("v_not_oregb_iregb",0x54,0xDCF3)
TVMTABEL.append("v_not_oregl_iregl",0x56,0xE297)
TVMTABEL.append("v_not_oregw_iregw",0x57,0x666D)
TVMTABEL.append("v_or_oregb_iregb_iregb_oregl",0x60,0xFBFD)
TVMTABEL.append("v_or_oregl_iregl_iregl_oregl",0x62,0x7819)
TVMTABEL.append("v_and_oregll_iregll_iregll_oregl",0x65,0x2954)
TVMTABEL.append("v_and_oregb_iregb_iregb_oregl",0x68,0xD8A5)
TVMTABEL.append("v_and_oregb_iregb_iregb_oregl",0x70,0x64D1)
TVMTABEL.append("v_and_oregl_iregl_iregl_oregl",0x72,0x4A64)
TVMTABEL.append("v_and_oregw_iregw_iregw_oregl",0x73,0xB562)
TVMTABEL.append("v_xor_oregll_iregll_iregll_oregl",0x75,0x69C2)
TVMTABEL.append("v_xor_oregb_iregb_iregb_oregl",0x78,0x19C1)
TVMTABEL.append("v_ret_iregx",0x95,0x805C)
TVMTABEL.append("v_shr_oregb_iregb_iregb_oregl",0x0c,0x62D7)
TVMTABEL.append("v_dec_oregl_iregl_oregl",0xc3,0x467C)
TVMTABEL.append("v_inc_oregb_iregb_oregl",0xc9,0x4267)
TVMTABEL.append("v_inc_oregll_iregll_oregl",0xca,0x6EE0)
TVMTABEL.append("v_inc_oregl_iregl_oregl",0xcb,0x7FB4)
TVMTABEL.append("v_test_iregw_iregw_oregl",0xd0,0x0499)
TVMTABEL.append("v_test_iregb_iregb_oregl",0xd1,0x2A99)
TVMTABEL.append("v_test_iregll_iregll_oregl",0xd2,0x8606)
TVMTABEL.append("v_test_iregl_iregl_oregl",0xd3,0x7FDE)
TVMTABEL.append("v_cmp_iregw_iregw_oregl",0xd4,0x87DF)
TVMTABEL.append("v_cmp_iregb_iregb_oregl",0xd5,0x3728)
TVMTABEL.append("v_cmp_iregll_iregll_oregl",0xd6,0x637D)
TVMTABEL.append("v_cmp_iregl_iregl_oregl",0xd7,0xCBEF)
TVMTABEL.append("v_sbb_oregb_iregb_iregb_oregl",0xd9,0x3F78)
TVMTABEL.append("v_sbb_oregll_iregll_iregll_oregl",0xda,0x0E0D)
TVMTABEL.append("v_jmp_iregxRax",0xe5,0xCD84)
TVMTABEL.append("v_mov_iregll_ll",0xe8,0x3F26)
TVMTABEL.append("v_mov_iregl_l",0xe9,0x448A)
TVMTABEL.append("v_mov_iregll_ll",0xea,0x43EF)
TVMTABEL.append("v_mov_iregw_w",0xee,0x44B1)
TVMTABEL.append("v_mov_iregb_b",0xef,0x144C)
TVMTABEL.append("v_mul_oregll_oregll_iregll_iregll",0xf4,0xEB97)
TVMTABEL.append("v_jmp_ll",0xf8,0x0000)
TVMTABEL.append("v_rep stosb_iregll_iregb_iregll",0xfc,0x8D54)
TVMTABEL.append("v_je_iregb_ll_ll",0xfd,0xDE5E)
解释:
 
TVMTABEL.append 第一个参数是我给tvmAsm取的名字,第二个参数就是 tvmopcode,第三个参数是:如果这个handle要取虚拟寄存器,就必须通过 这个值解密取得虚拟寄存器,就像是我上文中解释的:
TVMTABEL.append("v_mov_iregll_ll",0xe8,0x3F26)
这里再挑几个特殊说明一下:
TVMTABEL.append("v_jmp_ll",0xf8,0x0000):
因为有一些指令,tvm并没有对其进行模拟,所以需要临时退出虚拟机,然后执行那种指令,再返回虚拟机。(下文细说)

TVMTABEL.append("v_je_iregb_ll_ll",0xfd,0xDE5E)
当虚拟机寄存器op0为0x1时,V_RIP + op1 否则 V_RIP + op2,以实现虚拟机内的跳转

TVMTABEL.append("v_ret_iregx",0x95,0x805C)
这是退出虚拟机的tvmasm,具体实现是恢复原始寄存器,然后通过ret退出虚拟机。

TVMTABEL.append("v_jmp_iregxR11",0x9E,0x0AD7)
TVMTABEL.append("v_jmp_iregxR10",0x9F,0x2E72)
TVMTABEL.append("v_jmp_iregxRax",0xe5,0xCD84)
这三个tvmasm也是恢复原始寄存器,但是是通过jmp 跳出虚拟机 jmp r11、jmp r10、jmp rax

TVMTABEL.append("v_mul_oregll_oregll_iregll_iregll",0xf4,0xEB97)
乘法,虚拟机寄存器op2 * 虚拟机寄存器op3
结果高64位放入 虚拟机寄存器op0 ,低64位放入 虚拟机寄存器op1

把tvm的跟踪规则写好后,就可以跟踪导出这个函数的虚拟化控制流:
跟踪参考
idapython/deTvm.py . traceTask.track()

获取 tvmAsmTrace:

这是我挑的一个短的函数:0x140001250参考trace_file/sub_0x140001250.log
 
使用函数traceTask.track(0) + traceTask.traceOut(),输出如下:
 
 
可能会好奇这些 PO_reg 怎么来的,其实这是我对 traceCode的优化:
XXREGNAME = {"PO_rax":0x08,
"PO_rbx":0x10,
"PO_rcx":0x18,
"PO_rdx":0x20,
"PO_rsp":0x28,
"PO_rbp":0x30,
"PO_rsi":0x38,
"PO_rdi":0x40,
"PO_r8":0x48,
"PO_r9":0x50,
"PO_r10":0x58,
"PO_r11":0x60,
"PO_r12":0x68,
"PO_r13":0x70,
"PO_r14":0x78,
"PO_r15":0x80,
"PO_rf":0x88}
正常的取 虚拟机寄存器 都是 [r10 + xxx],r10 就是 V_REG_P,前面说过了,看下面这一段(前面也出现过)。
[1638] UnKnow V_REG_P = r10 = 1638 //虚拟机的虚拟寄存器从 1638 开始往下都是
[1640](r11+0) rax //这里以下是进入虚拟机前的寄存器状态
[1648](r11+8) rbx
[1650](r11+10) rcx
[1658](r11+18) rdx
[1660](r11+20) rsp
[1668](r11+28) rbp
[1670](r11+30) rsi
[1678](r11+38) rdi
[1680](r11+40) r8
[1688](r11+48) r9
[1690](r11+50) r10
[1698](r11+58) r11
[16a0](r11+60) r12
[16a8](r11+68) r13
[16b0](r11+70) r14
[16b8](r11+78) r15
[16c0](r11+80) rflag
例如 PO_r8 其实就是 [r10 + 0x48]
 
所以 tvmAsm对 PO_reg 操作 可以理解为对虚拟机外的真实寄存器操作。

tvmAsm to Asm

这里我使用了 标记working + 赋值表记录 的方法,将所有有意义的 tvmAsm找出来。
 
先说哪种tvmAsm会被标记为 working:(标记为working表明至少可以还原出一条原始Asm)
v_mov_iregll_iregll ( iregll :PO_rsp ,iregll :[ r10 + 0xa8 ] );
第一个参数必须为 原始寄存器 PO_reg
这一句 ,会将 [r10 + 0xa8]的值放入 PO_rsp ,
那么我们就可以推测,原Asm 可能为 mov rsp,xxx (也不一定对,但至少可以还原出一条Asm)

v_mov_ipreg_iregll ( iregll :PO_rsp ,iregll :[ r10 + 0xa8 ] );
同理可以推测 原Asm 为 mov qword ptr[rsp],xxx(也不一定对,但至少可以还原出一条Asm)

v_jmp_ll ( ll :0x1400c7588 );
上文说过,tvm并不能模拟全部指令,有一些指令需要临时退出虚拟机去执行,所以遇到这种指令,必然可以还原出一条Asm

v_ret_iregx、v_jmp_iregxR11、v_jmp_iregxR10、v_jmp_iregxRax
上文说过,这几个指令可以直接还原成 ret、jmp r11、jmp r10、jmp rax

v_je_iregb_ll_ll
这个可以还原出 jcc + jmp (下文详解)

v_rep stosb_iregll_iregb_iregll
这个可以还原出 rep stosb ,不用管参数

v_test_iregx_iregx_oregl
可以还原成 test

v_cmp_iregx_iregx_oregl
可以还原成 cmp

只要标记好这几个点,就能还原出全部的Asm。参考(idapython/deTvm.py . traceTask.track()
 
那么我们标记好后,这段 tvm指令就如下:
 
箭头指着的就是标记为working的TraceCode。那么接下来要干嘛,就很清晰了,把相关的traceCode找出来(变量溯源)。
 
例子1:
 
这一句被标记为working,我们找他使用的参数的赋值语句,直到 找到整数 或 PO_reg
140059e46 : v_mov_iregll_iregll ( iregll :PO_rsp ,iregll :[ r10 + 0xa8 ] );<-----
我们把 [r10 + 0xa8]的赋值语句找出来(往上找):
140059e28 : v_and_oregll_iregll_iregll_oregl ( oregll :[ r10 + 0xa8 ] ,iregll :[ r10 + 0xb8 ] ,iregll :[ r10 + 0xb8 ] ,oregl :PO_rf );
这一句用到了 [r10 + 0xb8],找它的赋值语句:
140059e23 : v_not_oregll_iregll ( oregll :[ r10 + 0xb8 ] ,iregll :[ r10 + 0xb8 ] );
又是 [r10 + 0xb8],再往上找:
140059e07 : v_add_oregll_iregll_iregll_oregl ( oregll :[ r10 + 0xb8 ] ,iregll :[ r10 + 0xb0 ] ,iregll :[ r10 + 0xa0 ] ,oregl :PO_rf );
用到 [r10 + 0xb0] 和 [r10 + 0xa0],往上找:
[r10 + 0xb0]:
140059e02 : v_not_oregll_iregll ( oregll :[ r10 + 0xb0 ] ,iregll :[ r10 + 0xa8 ] );
[r10 + 0xa0]:
140059df7 : v_mov_iregll_ll ( iregll :[ r10 + 0xa0 ] ,ll :0x28 );
[r10 + 0xa0]找到尽头了,[r10 + 0xb0]还没找到尽头,继续网上找[ r10 + 0xa8 ]的赋值语句:
140059df2 : v_mov_iregll_iregll ( iregll :[ r10 + 0xa8 ] ,iregll :PO_rsp );
找到尽头,是将 PO_rsp 放入。我们把这些 traceCode放在一起:
 
参考idapython/deTvm.py . traceTask.VRegRecord()
 
 
这样也有点不好看,用变量传播优化一下:
 
参考idapython/deTvm.py . tvmToAsm.optimize()
 
 
这一些 traceCode,就可以还原出一句 Asm:(以下我们对这一段可还原成Asm的TraceCode集合统称为一个 tvmToAsm 结构
[r10 + 0xb8] = ~(~rsp + 0x28) = rsp - 0x28 //前五句结合
[r10 + 0xa8] = [r10 + 0xb8] & [r10 + 0xb8] = [r10 + 0xb8] //没变化
于是这一段就可以还原成:
sub rsp,0x28
为什么是sub rsp,0x28而不是lea rsp,[rsp - 0x28]是有讲究的:
 
看traceCode中的一句v_add_oregll_iregll_iregll_oregl,他是有输出 rflag的,并且放入的位置就是 PO_rf,说明这一句ASM是会影响标志位,而lea是不影响标志位的,所以将它还原成sub

手动还原 Asm

我们顺势对这个函数的所有被标记为working 的traceCode进行变量溯源+优化,那么最后就可以得到:tvmToAsmAll。
 
一个函数内的所有 tvmToAsm 组成一个 tvmToAsmAll ,下图中一段一段的就是 tvmToAsm。
 
 
看,真正有效的就这一些,其余的都可以看作花指令。所以这个函数的原始ASM就是:(手动还原)
sub rsp,0x28
mov rcx,0x1400011a0
call sub_140005E38 #下文解释为什么 V_jmp_ll(0x1400c7588) 可以转换成 这个
mov byte ptr[0x14000d264],0x0
add rsp,0x28
ret
关于v_jmp_ll
 
上文说过,tvm不能模拟全部的Asm,所以有些Asm需要暂时退出虚拟机执行,然后再返回虚拟机:
 
我们到0x1400c7588,然后往下跟(中间是还原真实寄存器),直到出现 mov rsp,[rsp] ,之后的下一句就是真实需要执行的ASM了。即为 call sub_140005E38。
 
接下来会重新进入虚拟机,步骤和上文进入虚拟机的步骤大致相同。
 
 
所以 v_jmp_ll 是最容易还原成 Asm 之一的 tvmAsm了。
 
参考idapython/deTvm.py . tvmToAsm.vjmp_handle()

补充:

关于如何找到workingTraceCode的相关traceCode,我的方案如下:(如果你有其他方案,可以不用看这一段)
 
把全部traceCode的赋值语句找出来,然后给相关虚拟机寄存器添加赋值记录,形成一张赋值表,例如:
140059dc2 : v_mov_iregb_b ( iregb :[ r10 + 0x90 ] ,b :0x6 );
140059dc6 : v_mov_iregll_ll ( iregll :[ r10 + 0x98 ] ,ll :0x1 );
140059dd1 : v_mov_iregll_ll ( iregll :[ r10 + 0xa0 ] ,ll :0x1 );
140059ddc : v_mov_iregll_ll ( iregll :[ r10 + 0xa8 ] ,ll :0x600 );
140059de7 : v_mov_iregll_ll ( iregll :[ r10 + 0x0 ] ,ll :0x140001250 );
140059df2 : v_mov_iregll_iregll ( iregll :[ r10 + 0xa8 ] ,iregll :PO_rsp );
140059df7 : v_mov_iregll_ll ( iregll :[ r10 + 0xa0 ] ,ll :0x28 );
140059e02 : v_not_oregll_iregll ( oregll :[ r10 + 0xb0 ] ,iregll :[ r10 + 0xa8 ] );
140059e07 : v_add_oregll_iregll_iregll_oregl ( oregll :[ r10 + 0xb8 ] ,iregll :[ r10 + 0xb0 ] ,iregll :[ r10 + 0xa0 ] ,oregl :PO_rf );
我就可以得到这么一张表:
traceTaskRegTable为总赋值表,

traceTaskRegList为单个虚拟机寄存器的赋值栈,

traceTaskReg为入栈的单个记录。

相关定义参考:idapython/deTvm.py 的三个类,命名同上

当需要检索这一句traceCode的相关traceCode时:
140059e02 : v_not_oregll_iregll ( oregll :[ r10 + 0xb0 ] ,iregll :[ r10 + 0xa8 ] );
就可以直接查表,先找到[ r10 + 0xa8 ]的赋值记录栈traceTaskRegList,然后通过地址找到最近的一次赋值traceTaskReg,然后traceTaskReg记录了这一句traceCode,就可以找到了。
 
于是就找到了相关traceCode:
140059df2 : v_mov_iregll_iregll ( iregll :[ r10 + 0xa8 ] ,iregll :PO_rsp );
因为是将 PO_reg 赋值给它,所以到此检索完毕,如果不是,则按照相同的方法继续往上找。
 
相关代码参考:idapython/deTvm.py . traceTask.VRegRecord()
一些特殊的例子
 
例如有两个连续的 tvmToAsm,导出的相关traceCode如下:
 
 
我们可以发现,有两段相关traceCode是相同的,这就出现问题了:
 
第一个tvmToAsm可以翻译成xor edi,edi,那么第二个tvmToAsm能翻译成什么呢?
 
如果我们人为识别,就可以将其翻译成mov ecx,edi,因为[r10 + 450]在前面已经放入了PO_rdi,下面又取它放入PO_rcx
 
于是我们可以进行优化,如果 有一句v_mov_iregx_iregx(PO_reg , xxxx)那么我们就可以将xxxx的上一次赋值标记为PO_reg。
 
还是以上面的那一段代码为例:
v_mov_iregll_iregll ( iregll:PO_rdi ,iregll:[ r10 + 0x450 ] ); <-----------------
[r10 + 0x450]上一次赋值语句为:
v_mov_iregll_iregl ( iregll:[ r10 + 0x450 ],iregl :[ r10 + 0x98 ] );
我们可以将其标记为PO_rdi,那么当其他的workingTraceCode向上进行查找赋值表的时候,就可以找到PO_rdi,于是就优化为了:
 
 
实现代码参考:idapython/deTvm.py . traceTask.VRegRecord()
关于push和pop
 
push:
 
 
这是两个连续的 tvmToAsm,
 如果按照一般的分析方式,那么这两句可以翻译为:
mov qword ptr[rsp - 0x8],r13
lea rsp,[rsp - 8]
乍一看没什么问题,就是将push r13分开成两句执行,可是如果是pop,那么情况就有点不同了:
 
pop:
 
 
如果按照一般的分析方式,那么这两句可以翻译为:
lea rsp,[rsp + 8]
mov r13,qword ptr[rsp]
这就出问题了,这两句并不等于pop r13指令,那么问题出在哪呢,我们取消掉变量传播优化再看看:
 
 
问题就出在,这两句 workingTraceCode在进行变量溯源时,都找到了0x14004dca7这一句,
 
将 PO_rsp 放入虚拟机寄存器 [r10 + 0xa8],并且在第一句workingTraceCode中,又更改了 PO_rsp的值,所以导致出错。
 
幸运的是这种情况只会出现在 push 和 pop 中(参考idapython/deTvm.py . tvmToAsmAll.outerror()),
 
所以我们要对 push 和 pop 特殊处理,请参考:idapython/deTvm.py . tvmToAsmAll.findPushAndPop()
 
特殊处理,优化后的 push 和 pop:
 
push:
 
 
pop:
 
 
这就清晰很多了。

关于 jcc

前置知识:
 
各个标志位的位置:
 
JO jmp if OF = 1
JNO jmp if OF = 0
JB JC JNAE jmp if CF = 1
JNB JNC JAE jmp if CF = 0
JZ JE jmp if ZF = 1
JNZ JNZ jmp if ZF = 0
JBE JNA jmp if CF = 1 or ZF = 1
JNBE JA jmp if CF = 0 and ZF = 0
JS jmp if SF = 1
JNS jmp if SF = 0
JP JPE jmp if PF = 1
JNP JPO jmp if PF = 0
JL JNGE jmp if SF != OF
JNL JGE jmp if SF = OF
JLE JNG jmp if ZF = 1 or SF != OF
JNLE JG jmp if ZF = 0 and SF = OF
tvm巧妙的利用了and sub setz je 这四种指令模拟一个jcc,例如:
JE:
 
 
(v_je 的跳转是通过 加减 V_RIP 实现的,我这里直接优化成 绝对地址,省了我们去计算)
 
上面的代码,先保留 rflag 的zf位,然后再减去zf位,如果结果为0,那么 V_RIP 就变成 v_je 的第二个操作数0x14003c274否则 V_RIP变为0x14003c1fe。
 
于是,上面这段tvmasm可以翻译为:
je xxx(V_RIP = 0x14003c274)
jmp xxx(V_RIP = 0x14003c1fe)
JG
 
 
第一个tvmToAsm:
 
如果 zf = sf = of = 0,则V_RIP =0x1400369ec,否则 V_RIP =0x140036ac6(其实就是下面那一段,因为优化了所以地址对不上)。
 
第二个tvmToAsm:
 
如果 zf = 0 且 sf = of = 1,则V_RIP =0x1400369ec,否则 VRIP =0x1400368ef。
 
于是,上面这段tvmasm可以翻译为:
jg xxx(V_RIP = 0x1400369ec)
jmp xxx(V_RIP = 0x1400368ef)
提取特征
 
JE 的特征 0x40 0x40 (看上图你就知道是什么特征了)
 
JG 的特征 0x8c0 0x0 0x8c0 0x880(看上图你就知道是什么特征了)
 
全部的jcc特征:(代码参考idapython/deTvm.py . tvmToAsm.vjcc_handle()
JBE JNA
0x41 0x1 0x41 0x40 (这其实是错误的,tvm的bug?)

JGE JNL
0x880 0x0 0x880 0x880

JL JNGE
0x880 0x800 0x880 0x80

JG JNLE
0x8C0 0x0 0x8C0 0x880

JZ JE
0x40 0x40

JNZ JNE
0x40 0x0

JS
0x80 0x80

JNS
0x80 0x0

JC JB JNAE
0x1 0x1

JNC JNB JAE
0x1 0x0

JA JNBE
0x41 0x0

JP JPE
0x4 0x4 0x0 0x0

JNP JPO
0x4 0x0

JO
0x800 0x800

JNO
0x800 0x0

JLE JNG
0x8C0 0x40 zf
0x8C0 0x800 of
0x8C0 0x80 sf
0x8C0 0xC0 zf+sf
0x8C0 0x840 zf+of
0x8C0 0x8C0 zf+of+sf

上面我说JBE JNA的特征是0x41 0x1 0x41 0x40这其实是错误的:
 
因为 这只是jmp if ZF != CF,真正的JBE JNAjmp if CF = 1 or ZF = 1
 
对应的特征应该是0x41 0x1 0x41 0x40 0x41 0x41,在这个版本的 tvm 中 ,它将JBE JNA错误处理成了jmp if ZF != CF
 
我逆了较新版本的 tvm ,JBE JNA这里的bug就被修复了,就是0x41 0x1 0x41 0x40 0x41 0x41
 
(看来ACE部门用的tvm版本不够新啊)

脚本还原ASM

参考idapython/deTvm.py . tvmToAsmAll.AllTvmAsmToAsm()
第一步,先识别所有的AsmOpcode:
push 和 pop 在上文已经识别出来了,
 jcc 在上文也识别出来了,
 tvm没有模拟的Asm,也可以通过跟踪 v_jmp_ll 得到,上文也说了。
 
一些明显的 tvmAsm也可以直接识别原本的AsmOpcode:
asmOpcode = [
"sar","or","ror","xor","shr","shl","movsxd",
"movsx","movzx","dec","inc","test",
"cmp","rep stosb","sbb","int3"
]
如果tvmToAsm中的traceCode的tvmAsm含有以上的字符串,
那么可以直接将这个tvmtoAsm的AsmOpcode设置为对应项,例如:
 
 
可以直接将Asm的Opcode 设置成 xor,如果要翻译成Asm的话,就翻译成了xor edx,edx。
如果tvmToAsm只出现了 and,没有出现 not add 那么可以识别成 and
如果tvmToAsm只出现了 not,没有出现 and add 那么可以识别成 not
以上部分,参考代码:idapython/deTvm.py . tvmToAsm.setASMOpcode_1()
 
识别 lea mov add sub ,这部分比较复杂,如果是人为识别就简单。
 
我们先对每一个tvmToAsm内的traceCode再进行一次变量分析,列出一个赋值表,类似于上文赋值表的结构。
 
除此之外,我们还要对其进行标记设置,例如:
sub:
 
 
标记的结构:[handle,tvmPara,IsUseRflag],依次是处理手段、虚拟机寄存器、是否使用(输出)标志位
14004a4c3 : 将 [r10 + 0xb0] 标记为 [not,PO_rsp,False]
14004a4c8 : 将 [r10 + 0xb8] 标记为 [not,PO_rsp,False],[add,0x80,True] //会拷贝前一个的标记
14004a4e4 : 将 [r10 + 0xb8] 标记为 [not,PO_rsp,False],[add,0x80,True],[not,None,False]
-优化-> [None,PO_rsp,False],[sub,0x80,True] //会拷贝前一个的标记
14004a4e9 : 将 [r10 + 0x98] 标记为 [None,PO_rsp,False],[sub,0x80,True] //会拷贝前一个的标记
有了这些标记,再加上14004a507这一句指令,我们就可以识别这个tvmToAsm的AsmOpcode了:
出现 sub ,且影响标志位,所以为 sub
add:
 
1400627da : [r10 + 0xa8] 标记 [None,PO_r9,False],[add,0x9,False]
1400627e1 : 同上
1400627e6 : [r10 + 0x91] 标记 [None,PO_r9,False],[add,0x9,False],[mem,None,False]
1400627eb : [r10 + 0x90] 标记 [None,PO_r9,False],[add,0x9,False],[mem,None,False],[add,PO_rax,True]
1400627ff : [r10 + 0xa8] 标记 [None,PO_r9,False],[add,0x9,False]
140062806 : 同上
有了这些标记,再加上14006280b这一句指令,我们就可以识别这个tvmToAsm的AsmOpcode了:
出现了 add 标记,并且影响标志位,只能是 add
lea:
 
14004a825 : [r10 + 0xa0] 标记 [None,PO_rsp,False],[add,0x50,False]
有了这些标记,再加上14004a82c这一句指令,我们就可以识别这个tvmToAsm的AsmOpcode了:
标记中出现了add,且不影响标志位,就只能是 lea
mov:
 
140062826 : [r10 + 0x98] 标记 [None,PO_r9,False],[add,0x9,False]
14006282d : 同上
140062832 : [r10 + 0x90] 标记 [None,PO_r9,False],[add,0x9,False],[mem,None,False]
有了这些标记,再加上140062837这一句指令,我们就可以识别这个tvmToAsm的AsmOpcode了:
标记中出现了 add,但不影响标志位,并且出现了 mem ,那么只能是 mov
以上部分都只是一些简单例子,关于更加严格的sub add lea mov分类,参考代码:
 
idapython/deTvm.py . tvmToAsm.record_tage()负责跟踪标记
 
idapython/deTvm.py . tvmToAsm.setASMOpcode_2()负责分类sub add lea mov
第二步,操作数识别:
到这里的时候,全部 tvmToAsm 的 AsmOpcode都已经全部识别。
 
首先介绍一个工具函数 :GetAsmPara可以将标记转换成Asm操作数的格式。
mov:
 
例子和上图是一样的。转换为标记如下:
140062826 : [r10 + 0x98] 标记 [None,PO_r9,False],[add,0x9,False]
14006282d : 同上
140062832 : [r10 + 0x90] 标记 [None,PO_r9,False],[add,0x9,False],[mem,None,False]
看到140062837这一条workingTraceCode:
 
v_mov_iregb_iregb ( iregb :PO_rax ,iregb :[ r10 + 0x90 ] );
看到第二个参数的类型为 iregb,是8bit宽的操作数。
GetAsmPara( PO_rax ) 返回 "al"

GetAsmPara( [r10 + 0x90]) :
通过标记[None,PO_r9,False],[add,0x9,False],[mem,None,False],
返回 "[r9 + 0x9]"

我们知道这个tvmToAsm的AsmOpcode为mov,且workingTraceCode的 第二个参数类型为 iregb,
那么我们就可以知道:第一个操作数为 al ,第二个操作数为 byte ptr[r9 + 0x9]

于是这个tvmToAsm就可以翻译为:
mov al,byte ptr[r9 + 0x9]

代码参考:idapython/deTvm.py . tvmToAsm.mov_handle()
lea:
 
例子和上图是一样的。转换为标记如下:
14004a825 : [r10 + 0xa0] 标记 [None,PO_rsp,False],[add,0x50,False]
看到14004a82c这一条workingTraceCode:
 
v_mov_iregll_iregll ( iregll :PO_r8 ,iregll :[ r10 + 0xa0 ] );
GetAsmPara( PO_r8 ) 返回 "r8"

GetAsmPara( [r10 + 0xa0 ]) :
通过标记[None,PO_rsp,False],[add,0x50,False]
返回 "rsp + 0x50" //没有中括号,标记中出现mem才会有中括号,lea要后面自己加中括号

我们知道这个tvmToAsm的AsmOpcode为lea,且workingTraceCode的 第二个参数类型为 iregll,
那么我们就可以知道:第一个操作数为 r8 ,第二个操作数为 [rsp + 0x50]

于是这个tvmToAsm就可以翻译为:
lea r8,[rsp + 0x50]

代码参考:idapython/deTvm.py . tvmToAsm.lea_handle()
add sub:
 
用上面add的例子,但是进行GetAsmPara的是红框框起来的这两个:(对于sub的处理是一样的)
 
1400627ff : [r10 + 0xa8] 标记 [None,PO_r9,False],[add,0x9,False]
140062806 : 同上
对红框的两个参数进行GetAsmPara
看类型 iregb ,8bit宽度
GetAsmPara( PO_rax ) 返回 "al"

GetAsmPara( [r10 + 0xa8] ):
标记为:[None,PO_r9,False],[add,0x9,False]
因为 [r10 + 0xa8]类型为 ipreg,且8bit宽度
所以返回 "byte ptr[r9 + 0x9]"

于是这个tvmToAsm就可以翻译为:
add byte ptr[r9 + 0x9],al

代码参考:idapython/deTvm.py . tvmToAsm.add_sub_handle()
 
以下都是 对 红框框框起来的 tvmPara 进行GetAsmPara
push:
 
 
代码参考:idapython/deTvm.py . tvmToAsm.push_handle()
pop:
 
 
代码参考:idapython/deTvm.py . tvmToAsm.pop_handle()
cmp test:
 
cmp:
 
 
test:
 
 
代码参考:idapython/deTvm.py . tvmToAsm.cmp_test_handle()
movzx movsx movsxd
 
举例如果 opcode是movzx
 
 
其余的一样,取 opcode 对应的 第二个参数,然后 workingTraceCode的第一个参数进行GetAsmPara。
 
代码参考:idapython/deTvm.py . tvmToAsm.movzx_movsx_movsxd_handle()
not
 
取 tvmAsmOpcode内含有 "not"字符串的那一句traceCode,取第二个参数进行GetAsmPara。
 
代码参考:idapython/deTvm.py . tvmToAsm.not_handle()
xor sar shr shl sbb ror or and
 
取 tvmAsmOpcode含有 上述opcode 的traceCode,取第三个参数进行GetAsmPara。
 
取workingTraceCode的第一个参数进行GetAsmPara,以xor为例:
 
 
代码参考:idapython/deTvm.py . tvmToAsm.xxx_handle()
jcc
 
上面我们已经获取了 jcc的类型,和它的两个跳转地址,虽然都是 V_RIP,
 
我们对这两个V_RIP往下找第一个workingTrace,它所在的tvmToAsm就是对应的跳转地址,
 
我们可以给这个地址的的Asm打上跳转目的地标签,例如:
 
 
可以翻译为:
......
je lable1
jmp label2
......
label2: ;(0x14003c0e6往下找第一个tvmToAsm)
mov rax,1 ;只是举个例子
......
label1: ;(0x14003c13b往下找第一个tvmToAsm)
mov rcx,2 ;只是举个例子
......
参考代码:idapython/deTvm.py . tvmToAsm.jcc_handle()

ASM 2 HEX

这部分略,比较简单,就是通过keystone库函数将Asm编译成十六进制机器码,然后再创建一个段,把内存写进去。详情参考:idapython/deTvm.py . tvmToAsmAll.WriteHex()main0函数。
 
值得一提的是,我发现了keystone的一个bug,你们可以试一下:
import keystone
ASM2HEX = keystone.Ks(keystone.KS_ARCH_X86, keystone.KS_MODE_64)
asm = """
mov rcx,qword ptr ds:[0x14000d250]
"""
byte,con = ASM2HEX.asm(asm,addr=0x1400ef00a)
for by in byte:
print("%02x"%by,end="")
输出的结果是:
48 8b 0d 50 d2 00 40
将其转换成 ASM,是
1400ef00a mov rcx, qword ptr [rip + 0x4000d250]
这明显是错误的,0x1400ef00a+0x7+0x4000d250 != 0x14000d250
asm = """
mov qword ptr ds:[0x14000d250],rcx
"""
byte,con = ASM2HEX.asm(asm,addr=0x1400ef00a)
就能输出正确的字节码。
 
所以我采用的方法是一句一句将Asm转换成HEX,如果遇到mov reg,qword ptr[xxx],
 
就把格式改成mov reg,qword ptr[rip + yyy],详情参考代码:
 
idapython/deTvm.py . Asm.AsmToHex()


deTvm.py脚本玩法

main0是对全部ida识别的函数进行特征分析,如果符合tvm函数特征,就对它进行还原。
 
可以算是一键还原全部tvm函数了,有可能有些tvm函数不符合特征,你也可以手动添加还原函数。
 
例如:
 
你知道一个函数0x140001250它是被vm的,那么你这么写,脚本就会自动特征识别V_RIP。
testTrace = traceTask(0x140001250,tvm0base) #tvm0base是tvm0段的起始地址
testTrace.track(0) #开始跟踪 得到traceCode
testTrace.traceOut() #输出原始traceCode
如果你这个被vm的函数不符合我写的特征,但它确实是tvm的函数,那么可以这么写,自己设置V_RIP:
#上一个例子的 函数 0x140001250 它的 V_RIP 就是 0x140059dc2
testTrace = traceTask(0,tvm0base)
testTrace.VStart = 0x140059dc2 #自己找这个vm函数的起始地址 例如V_RIP = 0x140059dc2
testTrace.track(0) #开始跟踪 得到traceCode
testTrace.traceOut() #输出原始traceCode
traceOut(0)输出的结果如下:( 基本没做处理)
如果想看 对标记working的traceCode进行变量溯源的结果,你可以这么写:
testTrace = traceTask(0x140001250,tvm0base) #tvm0base是tvm0段的起始地址
testTrace.track(0) #开始跟踪 得到traceCode
testTrace.VRegRecord(True) #如果是False就是不使用标记(上文说过)
testTrace.tvmToAsmAll.printAll() #输出
输出:
 
 
如果想进一步的进行变量传播优化还有 push、pop 优化,可以这么写:
testTrace = traceTask(0x140001250,tvm0base) #tvm0base是tvm0段的起始地址
testTrace.track(0) #开始跟踪 得到traceCode
testTrace.VRegRecord(True) #如果是False就是不使用标记(上文说过)
testTrace.tvmToAsmAll.optimizeAll() #变量传播优化,push、pop优化
testTrace.tvmToAsmAll.printAll() #输出
输出:
 
 
如果想看还原成 ASM是什么样的,可以这样写:
testTrace = traceTask(0x140001250,tvm0base) #tvm0base是tvm0段的起始地址
testTrace.track(0) #开始跟踪 得到traceCode
testTrace.VRegRecord(True) #如果是False就是不使用标记(上文说过)
testTrace.tvmToAsmAll.optimizeAll() #变量传播优化,push、pop优化
testTrace.tvmToAsmAll.AllTvmAsmToAsm() #转换成ASM 注意,一定要VRegRecord + optimizeAll 后才可以调用
testTrace.tvmToAsmAll.printAsmAll() #输出ASM
输出:
 
 
如果想看 tvmToAsm和Asm对应起来的输出,可以这样写:
testTrace = traceTask(0x140001250,tvm0base) #tvm0base是tvm0段的起始地址
testTrace.track(0) #开始跟踪 得到traceCode
testTrace.VRegRecord(True) #如果是False就是不使用标记(上文说过)
testTrace.tvmToAsmAll.optimizeAll() #变量传播优化,push、pop优化
testTrace.tvmToAsmAll.AllTvmAsmToAsm() #转换成ASM

tvmToAsm_P = testTrace.tvmToAsmAll.tvmToAsmHead #结构为tvmToAsm
while (tvmToAsm_P != None):
tvmToAsm_P.printAsm() #输出Asm
tvmToAsm_P.print() #输出traceCodeAll
print("") #隔开
tvmToAsm_P = tvmToAsm_P.BLink #下一个

输出:
 


还原例子

总所周知 ACE-BASE.sys 的DriverUnload函数是被vm了的,那么我们就用它来看看还原效果:
 
 
不错,很符合我对DriverUnload的想象。
 
左边 命名为icxxx的函数均为还原成功的函数。
 
还原脚本项目地址:xx_tvm

一些补充

这个脚本只适用于这个版本的 tvm (ACE用的版本)。
 
新一点的tvm,虽然用的是同一套虚拟化指令集,但它会对整数进行加密,读取时进行简单的xor解密,并且新增了一些 虚拟指令。
 
而且 进入虚拟机的特征也有点不一样,不过对脚本进行简单的修改即可兼容。
一些闲话
 
ACE你快用新版的tvm,你现在用的版本是有bug的(JBE JNA的模拟是错的)。

看雪ID:icey_

https://bbs.kanxue.com/user-home-914360.htm

*本文为看雪论坛精华文章,由 icey_ 原创,转载请注明来自看雪社区

# 往期推荐

1、CobaltStrike分析-beacon 解析

2、内核和驱动文件的感染

3、HOOK的原理分析与easy_hook逆向题分析

4、CVE-2023-22809 sudo提权漏洞

5、无限硬件中断的代码实现

6、x32TLS回调函数实验

球分享

球点赞

球在看


文章来源: http://mp.weixin.qq.com/s?__biz=MjM5NTc2MDYxMw==&mid=2458506045&idx=1&sn=be96acc1a2a8a141e81d83a89078c8f2&chksm=b18ee3b786f96aa1671a0da523ad84be5d9e58b6afe18ab3b36f89a120667df233b62b5c2162#rd
如有侵权请联系:admin#unsafe.sh