全球 APT 2022年度报告 TOP10
read file error: read notes: is a directory 2023-3-15 16:0:19 Author: Ots安全(查看原文) 阅读量:23 收藏

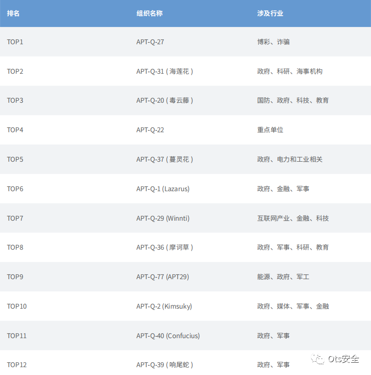
基于上述数据分析,针对我国境内攻击的APT组织活跃度排名及其关注的行业领域如下表。

下载地址:https://github.com/blackorbird/APT_REPORT/blob/master/summary/2023/Global%20APT%202022%20Annual%20Report-qianxin.pdf


文章来源: http://mp.weixin.qq.com/s?__biz=MzAxMjYyMzkwOA==&mid=2247496765&idx=1&sn=bfbc56c715ca89177fb61e6e11f6150f&chksm=9badbd76acda3460dd2f2c4f6d3aa9c16fce7f2b994b14fe67944e182c7f8e05c386f3cf5311#rd
如有侵权请联系:admin#unsafe.sh