疯狂暗示!一次对某色情app的渗透
read file error: read notes: is a directory 2022-12-13 23:7:41 Author: 白帽子程序员(查看原文) 阅读量:37 收藏

前言:


某个星期六的晚上,我还在挖 edusrc ,刚 getshell 内网漫游完(纯属放屁哈哈哈)准备下机睡觉,修君表哥给我发了某站(表哥们懂的,疯狂暗示),

我打开一看,WC好东西,不渗透一波怎么能对得起它呢?

背景:

找到某app的界面:


咳咳,表哥们别想太多哈,本人纯情小处男,啥都不知道啥都不懂


看了看功能点,有一个注册的地方,但是注册的时候居然要邀请码!!!

真的很没意思,一点互联网资源共享精神都没,这就很过分了,这么好的东西怎么能吃独食??

必须安排一波

过程:

看了看功能点,有一个注册的地方,但是注册的时候居然要邀请码!!!

真的很没意思,一点互联网资源共享精神都没,这就很过分了,这么好的东西怎么能吃独食??

必须安排一波,没办法,看着到手的资源就要飞了,于心不忍啊,

于是将app放到虚拟机,通过抓包拿到其真实域名


然后利用bp的爬虫爬到一处api接口


提示参数缺失 fuzz一波参数


fuzz.jpg (自行脑部bp fuzz图 忘了截图了)


http://www.xxxxxxx.cn/api/index/tab3?p=1&t=3&v=0&s=0


然后就是一波中奖

但是不是DBA 也无法写文件 数据库实在太乱了 懒得一个一个的读


目前后台地址也还没找到 而且这个站及其的卡 思路完全乱了,,

想着先利用注入搞一个账号出来 然后登录该app,,看看app内有无什么可利用的


但是除了一处留言反馈准备测试xss之外,就是各种诱惑。。。。


留言框只允许中文以及中文符号,但是却是使用js进行验证,抓包
即可绕过

对着该处留言框就是一顿乱插


中途等了大概10分钟 就当我以为要失败的时候


果然,,菜逼运气好==


拿到后台登录地址 虽然没有cookie 但是利用注入点读出了后台账号密码


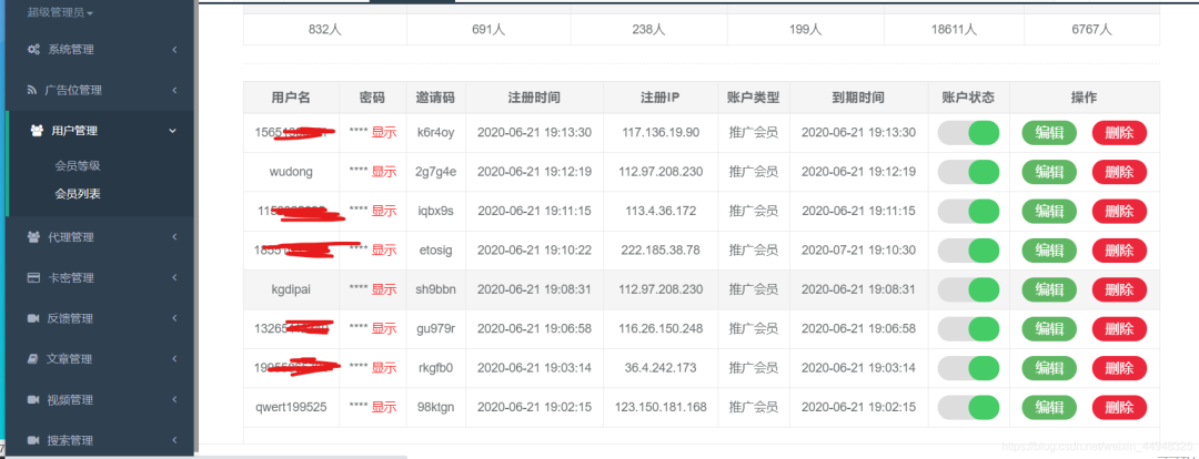
最后登陆后台

看了看后台,app总用户达到1w+…一天用户增加500+


翻了下后台的功能,,发现一处图片上传,而且似乎是js验证的图片类型

但是在实际上传中 各种失败,应该是前台js验证+后端功能让所有上传的文件强制改名为.jpg

接下来的事就比较好玩了,虽然拿到了后台,但是没法突破,没卵用


于是我添加了后台留的一个QQ号

对方秒通过,经过简单的交流,发现他是这套程序的二开作者,售卖给别人被别人用来当作淫秽视频传播盈利网站了。

于是我就将计就计,先唬住他(我摊牌了,我是演员)

这个地方 hw 和授权书只是我骗他的==


各位表哥看着爽就行

甚至他把他的网站后台账号密码都给我了。。。

tips:以上内容都是瞎编的,大佬们不要当真!

通过他提供的部分上传验证源码,发现是后段对上传文件强制改名了,我人都傻了,大佬们有绕过思路可以在下方评论

最后还是没拿到shell等等,,也就是只止步于后台了。


一方面是这个后台实在太鸡儿卡了,动不动无法响应


另一方面就是漏洞利用手法没有全面利用,导致忽略了很多getshell的姿势,还是太菜了呜呜呜,表哥们轻喷。

作者:多吃点才可爱

来源:http://r6d.cn/VRhr


文章来源: http://mp.weixin.qq.com/s?__biz=Mzg3Mjc0MDQ2Nw==&mid=2247490129&idx=1&sn=2bd9b4b4c64198193c94dacb9fa8990a&chksm=ceebf94df99c705b4c97b07a73017e2e8d91e6d5a88eed80f5a49ec2865519d3adfc32f6d2b5#rd
如有侵权请联系:admin#unsafe.sh