0x01 开发初衷
 
                    0x01 开发初衷
0x02 安装与使用
1、直接拖入google即可使用(文末有获取方式)
https://github.com/dark-kingA/superSearh.git0x03 功能描述
1、提取当前tab的url进行扫描查询
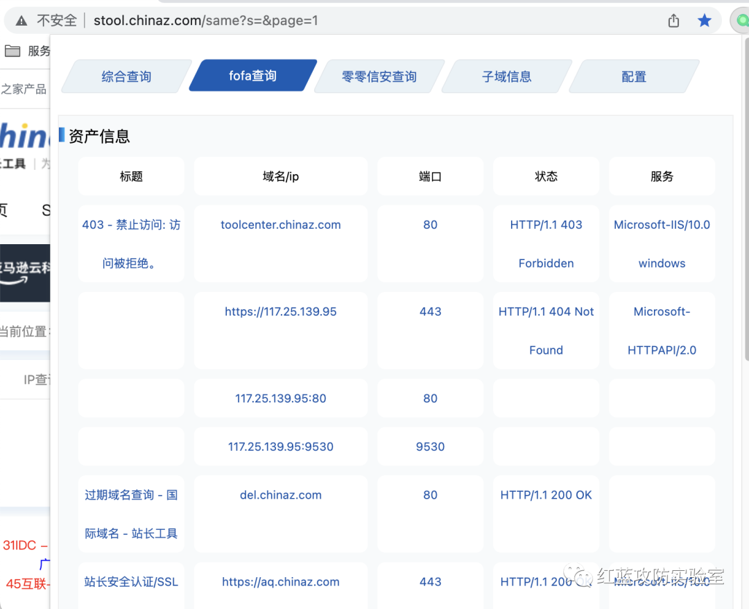
2、fofa查询(默认根据当前目标ip作为查询条件)
3、零零信安查询 (时间仓促,下个版本会把鹰图,QUAKE等整合到插件中)
4、子域信息
5、配置:此处需要去零零信息申请key值 有效期永久期限
6、ip反查
考虑到使用ip访问的情况也很多,所以增加了ip反查域名,然后联动查询相关信息。
0x04 技术交流
1、考虑后期准备接入市面上常见的搜索引擎平台插件持续更新。
2、插件获取:关注公众号 回复 superSearch
3、因时间有限,用了三天时间开发,可能会有bug,欢迎私信提bug或者建议。